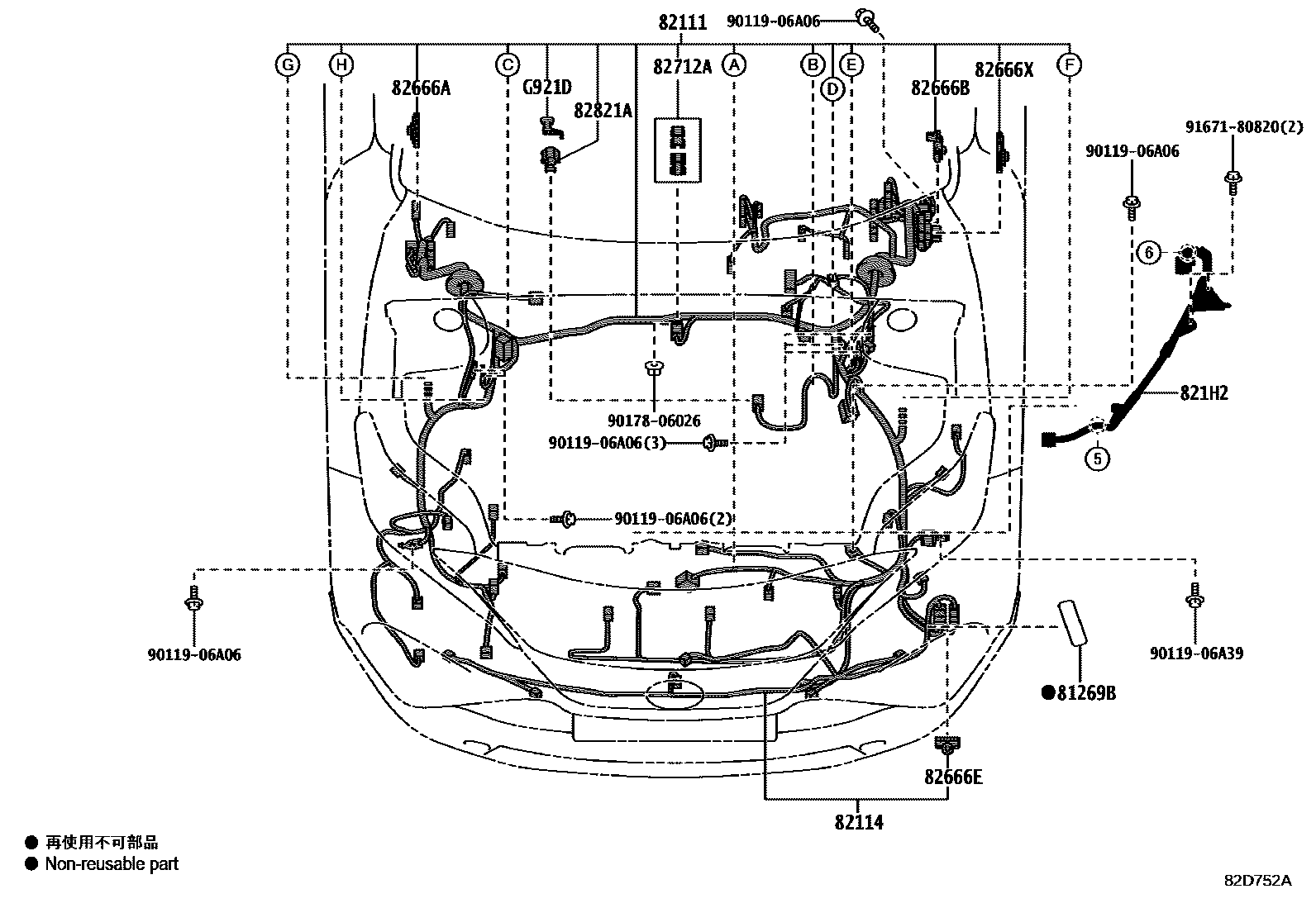
WIRING & CLAMP

81269BSEAL, FOG LAMP
82111WIRE, ENGINE ROOM MAIN
BACK MONITOR-WITH(PANORAMIC VIEW MONITOR & WASHER)
BACK MONITOR-WITH(PANORAMIC VIEW MONITOR & WASHER)
BACK MONITOR-WITH(PANORAMIC VIEW MONITOR & WASHER)
BACK MONITOR-WITH(PANORAMIC VIEW MONITOR & WASHER)
82114WIRE, ENGINE ROOM, NO.4
BACK MONITOR-WITH(*PVM & WASHER)
BACK MONITOR-WITH(*PVM & WASHER)
BACK MONITOR-WITH(PANORAMIC VIEW MONITOR & WASHER)
821H2WIRE, HV AIR CONDITIONER
82666AHOLDER, CONNECTOR NO.2
82666BHOLDER, CONNECTOR NO.3
82666XHOLDER, CONNECTOR NO.17
82712ASUPPORT, WIRING HARNESS
82821ACOVER, CONNECTOR
G921DPROTECTOR, INVERTER CONNECTOR COVER
9011906A06
main90119-06A06
9011906A39
main90119-06A39
9017806026
main90178-06026
9167180820
main91671-80820
15 parts on this diagram · 13 diagrams in section