E
EPC Data
Pricing
API Docs
Sign In
Home
›
US
›
523440
›
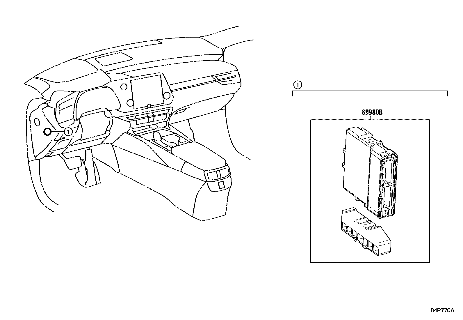
HEV CONTROL COMPUTER
HEV CONTROL COMPUTER
89980B
COMPUTER ASSY, HYBRID VEHICLE CONTROL
main
89980-0E300
i
AALH15
202210-202309
*614
main
89980-0E310
i
TALH17
202210-202309
*614
main
89980-0E490
i
TALH17
202309-202411
*614
main
89980-0E500
i
AALH15
202309-202411
*614
main
89980-0E570
i
AALH15
202411-202510
*614
main
89980-0E580
i
TALH17
202411
*614
1 parts on this diagram · 1 diagram in section
HEV CONTROL COMPUTER — Toyota Parts Diagram with OEM Numbers & Prices | EPC Data