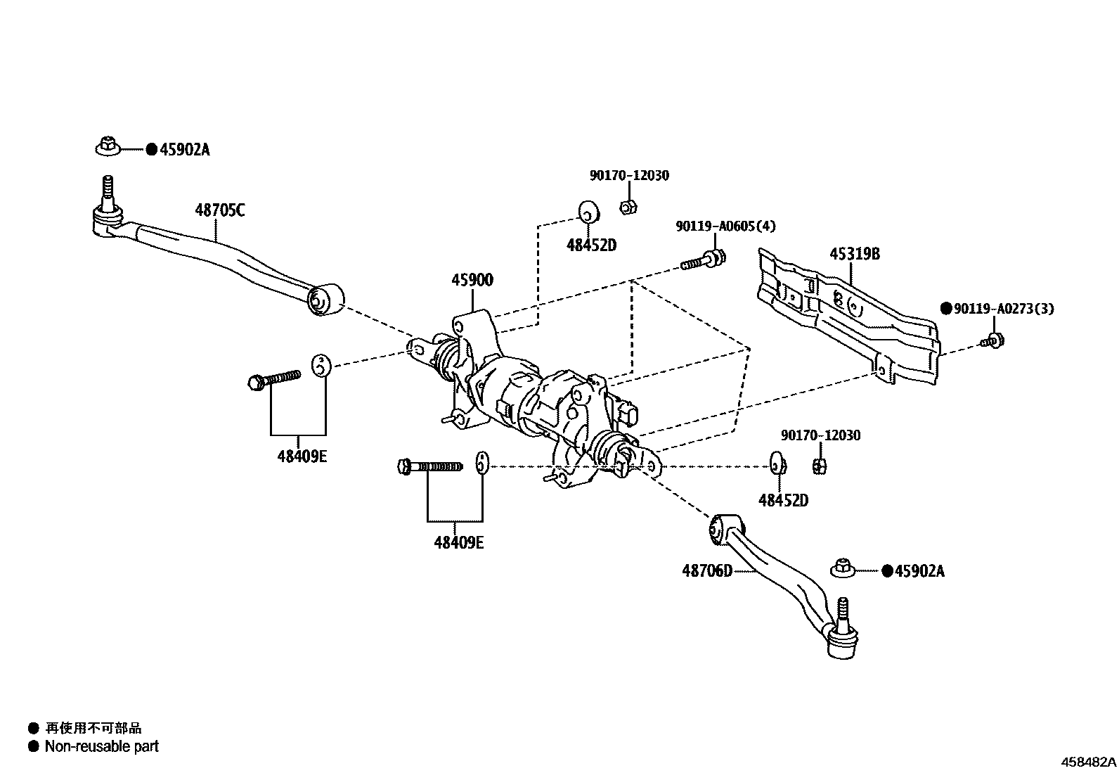
REAR STEERING GEAR (4WS)

45319BINSULATOR, STEERING GEAR HEAT
45902ANUT, CASTLE(FOR REAR STEERING TIE ROD END)
48409ECAM SUB-ASSY, TOE ADJUST
48452DPLATE, TOE ADJUST
48705CLINK SUB-ASSY SET, TOE CONTROL, RH
48706DLINK SUB-ASSY SET, TOE CONTROL, LH
90119A0273
main90119-A0273
90119A0605
main90119-A0605
9017012030
main90170-12030
10 parts on this diagram · 1 diagram in section