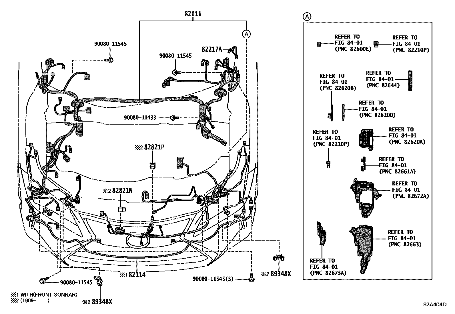
WIRING & CLAMP

82111WIRE, ENGINE ROOM MAIN
82114WIRE, ENGINE ROOM, NO.4
CLEARANCE & BACK SONAR-WITH(CLEARANCE & BACK SONAR)
82217AWIRE, FRONT WINDOW DEFOGGER
82821NCOVER, CONNECTOR
"F SPORT"*(F)&PRE-COLLISION SYSTEM-WITH(*PBA & *PB)&HEADLAMP-LED SINGLE BEAM TYPE& WITH(*AHB)&AIR CONDITIONER-EXHAUST GAS AUTOMATIC INTAKE SYSTEM&CLEARANCE & BACK
COLD AREA SPEC&PRE-COLLISION SYSTEM-WITH(*PBA & *PB)&HEADLAMP-LED SINGLE BEAM TYPE& WITH(*AHB)&AIR CONDITIONER-EXHAUST GAS AUTOMATIC INTAKE SYSTEM
COLD AREA SPEC&PRE-COLLISION SYSTEM-WITH(*PBA & *PB)&HEADLAMP-LED SINGLE BEAM TYPE& WITH(*AHB)&AIR CONDITIONER-EXHAUST GAS AUTOMATIC INTAKE SYSTEM&CLEARANCE & BACK
PRE-COLLISION SYSTEM-WITH(*PBA & *PB)&HEADLAMP-LED SINGLE BEAM TYPE & WITH(*AHB)
PRE-COLLISION SYSTEM-WITH(*PBA & *PB)&HEADLAMP-LED SINGLE BEAM TYPE & WITH(*AHB)&AIR CONDITIONER-EXHAUST GAS AUTOMATIC INTAKE SYSTEM
PRE-COLLISION SYSTEM-WITH(*PBA & *PB)&HEADLAMP-LED SINGLE BEAM TYPE & WITH(*AHB)&AIR CONDITIONER-EXHAUST GAS AUTOMATIC INTAKE SYSTEM&CLEARANCE & BACK SONAR-WITH(CLE
AIR CONDITIONER-EXHAUST GAS AUTOMATIC INTAKE SYSTEM
PREMIUM PACKAGE&COLD AREA SPEC&PRE-COLLISION SYSTEM-WITH(*PBA & *PB)&HEADLAMP-LEDSINGLE BEAM TYPE & WITH(*AHB)&AIR CONDITIONER-EXHAUST GAS AUTOMATIC INTAKE SYSTEM&
PREMIUM PACKAGE&PRE-COLLISION SYSTEM-WITH(*PBA & *PB)&HEADLAMP-LED SINGLE BEAM TYPE & WITH(*AHB)&AIR CONDITIONER-EXHAUST GAS AUTOMATIC INTAKE SYSTEM&CLEARANCE & BAC
"VERSION L"*(L)&COLD AREA SPEC&PRE-COLLISION SYSTEM-WITH(*PBA & *PB)&HEADLAMP-LEDSINGLE BEAM TYPE & WITH(*AHB)&AIR CONDITIONER-EXHAUST GAS AUTOMATIC INTAKE SYSTEM&
"VERSION L"*(L)&PRE-COLLISION SYSTEM-WITH(*PBA & *PB)&HEADLAMP-LED SINGLE BEAM TYPE & WITH(*AHB)&AIR CONDITIONER-EXHAUST GAS AUTOMATIC INTAKE SYSTEM&CLEARANCE & BAC
"F SPORT"*(F)&COLD AREA SPEC&PRE-COLLISION SYSTEM-WITH(*PBA & *PB)&HEADLAMP-LED SINGLE BEAM TYPE & WITH(*AHB)&AIR CONDITIONER-EXHAUST GAS AUTOMATIC INTAKE SYSTEM&CL
PRE-COLLISION SYSTEM-WITH(*PBA & *PB)&HEADLAMP-LED SINGLE BEAM TYPE & WITH(*AHB)&AIR CONDITIONER-EXHAUST GAS AUTOMATIC INTAKE SYSTEM&CLEARANCE & BACK SONAR-WITH(INT
"F SPORT"*(F)&COLD AREA SPEC&HEADLAMP-LED TRIPLE BEAM TYPE & WITH(*AHB)&AIR CONDITIONER-EXHAUST GAS AUTOMATIC INTAKE SYSTEM
"F SPORT"*(F)&COLD AREA SPEC&HEADLAMP-LED TRIPLE BEAM TYPE & WITH(*AHB)&AIR CONDITIONER-EXHAUST GAS AUTOMATIC INTAKE SYSTEM&CLEARANCE & BACK SONAR-WITH(INTELLIGENT
"F SPORT"*(F)&COLD AREA SPEC&HEADLAMP-LED TRIPLE BEAM TYPE & WITH(*AHB)&AIR CONDITIONER-EXHAUST GAS AUTOMATIC INTAKE SYSTEM&CLEARANCE & BACK SONAR-WITH(*ICS & *RCTB
"F SPORT"*(F)&COLD AREA SPEC&HEADLAMP-LED SINGLE BEAM TYPE & WITH(*AHB&*AFLS)&AIRCONDITIONER-EXHAUST GAS AUTOMATIC INTAKE SYSTEM
"F SPORT"*(F)&COLD AREA SPEC&HEADLAMP-LED SINGLE BEAM TYPE & WITH(*AHB&*AFLS)&AIRCONDITIONER-EXHAUST GAS AUTOMATIC INTAKE SYSTEM&CLEARANCE & BACK SONAR-WITH(INTELL
"F SPORT"*(F)&COLD AREA SPEC&HEADLAMP-LED SINGLE BEAM TYPE & WITH(*AHB&*AFLS)&AIRCONDITIONER-EXHAUST GAS AUTOMATIC INTAKE SYSTEM&CLEARANCE & BACK SONAR-WITH(*ICS &
"F SPORT"*(F)&COLD AREA SPEC&AIR CONDITIONER-EXHAUST GAS AUTOMATIC INTAKE SYSTEM
"F SPORT"*(F)&COLD AREA SPEC&AIR CONDITIONER-EXHAUST GAS AUTOMATIC INTAKE SYSTEM&CLEARANCE & BACK SONAR-WITH(INTELLIGENT CLEARANCE SONAR)
"F SPORT"*(F)&COLD AREA SPEC&AIR CONDITIONER-EXHAUST GAS AUTOMATIC INTAKE SYSTEM&CLEARANCE & BACK SONAR-WITH(*ICS & *RCTB)
"F SPORT"*(F)&HEADLAMP-LED TRIPLE BEAM TYPE & WITH(*AHB)&AIR CONDITIONER-EXHAUST GAS AUTOMATIC INTAKE SYSTEM
"F SPORT"*(F)&HEADLAMP-LED TRIPLE BEAM TYPE & WITH(*AHB)&AIR CONDITIONER-EXHAUST GAS AUTOMATIC INTAKE SYSTEM&CLEARANCE & BACK SONAR-WITH(INTELLIGENT CLEARANCE SONAR
"F SPORT"*(F)&HEADLAMP-LED TRIPLE BEAM TYPE & WITH(*AHB)&AIR CONDITIONER-EXHAUST GAS AUTOMATIC INTAKE SYSTEM&CLEARANCE & BACK SONAR-WITH(*ICS & *RCTB)
"F SPORT"*(F)&HEADLAMP-LED SINGLE BEAM TYPE & WITH(*AHB&*AFLS)&AIR CONDITIONER-EXHAUST GAS AUTOMATIC INTAKE SYSTEM
"F SPORT"*(F)&HEADLAMP-LED SINGLE BEAM TYPE & WITH(*AHB&*AFLS)&AIR CONDITIONER-EXHAUST GAS AUTOMATIC INTAKE SYSTEM&CLEARANCE & BACK SONAR-WITH(INTELLIGENT CLEARANCE
"F SPORT"*(F)&HEADLAMP-LED SINGLE BEAM TYPE & WITH(*AHB&*AFLS)&AIR CONDITIONER-EXHAUST GAS AUTOMATIC INTAKE SYSTEM&CLEARANCE & BACK SONAR-WITH(*ICS & *RCTB)
"F SPORT"*(F)&AIR CONDITIONER-EXHAUST GAS AUTOMATIC INTAKE SYSTEM
"F SPORT"*(F)&AIR CONDITIONER-EXHAUST GAS AUTOMATIC INTAKE SYSTEM&CLEARANCE & BACKSONAR-WITH(INTELLIGENT CLEARANCE SONAR)
"F SPORT"*(F)&AIR CONDITIONER-EXHAUST GAS AUTOMATIC INTAKE SYSTEM&CLEARANCE & BACKSONAR-WITH(*ICS & *RCTB)
COLD AREA SPEC&HEADLAMP-LED TRIPLE BEAM TYPE & WITH(*AHB)&AIR CONDITIONER-EXHAUSTGAS AUTOMATIC INTAKE SYSTEM
COLD AREA SPEC&HEADLAMP-LED TRIPLE BEAM TYPE & WITH(*AHB)&AIR CONDITIONER-EXHAUSTGAS AUTOMATIC INTAKE SYSTEM&CLEARANCE & BACK SONAR-WITH(INTELLIGENT CLEARANCE SONA
COLD AREA SPEC&HEADLAMP-LED TRIPLE BEAM TYPE & WITH(*AHB)&AIR CONDITIONER-EXHAUSTGAS AUTOMATIC INTAKE SYSTEM&CLEARANCE & BACK SONAR-WITH(*ICS & *RCTB)
COLD AREA SPEC&HEADLAMP-LED SINGLE BEAM TYPE & WITH(*AHB&*AFLS)&AIR CONDITIONER-EXHAUST GAS AUTOMATIC INTAKE SYSTEM
COLD AREA SPEC&HEADLAMP-LED SINGLE BEAM TYPE & WITH(*AHB&*AFLS)&AIR CONDITIONER-EXHAUST GAS AUTOMATIC INTAKE SYSTEM&CLEARANCE & BACK SONAR-WITH(INTELLIGENT CLEARANC
COLD AREA SPEC&HEADLAMP-LED SINGLE BEAM TYPE & WITH(*AHB&*AFLS)&AIR CONDITIONER-EXHAUST GAS AUTOMATIC INTAKE SYSTEM&CLEARANCE & BACK SONAR-WITH(*ICS & *RCTB)
COLD AREA SPEC&AIR CONDITIONER-EXHAUST GAS AUTOMATIC INTAKE SYSTEM
COLD AREA SPEC&AIR CONDITIONER-EXHAUST GAS AUTOMATIC INTAKE SYSTEM&CLEARANCE & BACK SONAR-WITH(INTELLIGENT CLEARANCE SONAR)
COLD AREA SPEC&AIR CONDITIONER-EXHAUST GAS AUTOMATIC INTAKE SYSTEM&CLEARANCE & BACK SONAR-WITH(*ICS & *RCTB)
HEADLAMP-LED TRIPLE BEAM TYPE & WITH(*AHB)&AIR CONDITIONER-EXHAUST GAS AUTOMATIC INTAKE SYSTEM
HEADLAMP-LED TRIPLE BEAM TYPE & WITH(*AHB)&AIR CONDITIONER-EXHAUST GAS AUTOMATIC INTAKE SYSTEM&CLEARANCE & BACK SONAR-WITH(INTELLIGENT CLEARANCE SONAR)
HEADLAMP-LED TRIPLE BEAM TYPE & WITH(*AHB)&AIR CONDITIONER-EXHAUST GAS AUTOMATIC INTAKE SYSTEM&CLEARANCE & BACK SONAR-WITH(*ICS & *RCTB)
HEADLAMP-LED SINGLE BEAM TYPE & WITH(*AHB&*AFLS)&AIR CONDITIONER-EXHAUST GAS AUTOMATIC INTAKE SYSTEM
HEADLAMP-LED SINGLE BEAM TYPE & WITH(*AHB&*AFLS)&AIR CONDITIONER-EXHAUST GAS AUTOMATIC INTAKE SYSTEM&CLEARANCE & BACK SONAR-WITH(INTELLIGENT CLEARANCE SONAR)
HEADLAMP-LED SINGLE BEAM TYPE & WITH(*AHB&*AFLS)&AIR CONDITIONER-EXHAUST GAS AUTOMATIC INTAKE SYSTEM&CLEARANCE & BACK SONAR-WITH(*ICS & *RCTB)
AIR CONDITIONER-EXHAUST GAS AUTOMATIC INTAKE SYSTEM&CLEARANCE & BACK SONAR-WITH(INTELLIGENT CLEARANCE SONAR)
AIR CONDITIONER-EXHAUST GAS AUTOMATIC INTAKE SYSTEM&CLEARANCE & BACK SONAR-WITH(*ICS & *RCTB)
"F SPORT"*(F)&COLD AREA SPEC&PRE-COLLISION SYSTEM-WITH(*PBA & *PB)&HEADLAMP-LED SINGLE BEAM TYPE & WITH(*AHB)&AIR CONDITIONER-EXHAUST GAS AUTOMATIC INTAKE SYSTEM
"F SPORT"*(F)&PRE-COLLISION SYSTEM-WITH(*PBA & *PB)&HEADLAMP-LED SINGLE BEAM TYPE& WITH(*AHB)&AIR CONDITIONER-EXHAUST GAS AUTOMATIC INTAKE SYSTEM
"F SPORT"*(F)
"F SPORT"*(F)&COLD AREA SPEC
"F SPORT"*(F)&COLD AREA SPEC&HEADLAMP-LED TRIPLE BEAM TYPE & WITH(*AHB)
"F SPORT"*(F)&COLD AREA SPEC&HEADLAMP-LED SINGLE BEAM TYPE & WITH(*AHB&*AFLS)
"F SPORT"*(F)&HEADLAMP-LED TRIPLE BEAM TYPE & WITH(*AHB)
"F SPORT"*(F)&HEADLAMP-LED SINGLE BEAM TYPE & WITH(*AHB&*AFLS)
COLD AREA SPEC
COLD AREA SPEC&HEADLAMP-LED TRIPLE BEAM TYPE & WITH(*AHB)
COLD AREA SPEC&HEADLAMP-LED SINGLE BEAM TYPE & WITH(*AHB&*AFLS)
HEADLAMP-LED TRIPLE BEAM TYPE & WITH(*AHB)
HEADLAMP-LED SINGLE BEAM TYPE & WITH(*AHB&*AFLS)
CLEARANCE & BACK SONAR-WITH(*ICS & *RCTB)
CLEARANCE & BACK SONAR-WITH(INTELLIGENT CLEARANCE SONAR)
"F SPORT"*(F)&CLEARANCE & BACK SONAR-WITH(INTELLIGENT CLEARANCE SONAR)
"F SPORT"*(F)&CLEARANCE & BACK SONAR-WITH(*ICS & *RCTB)
COLD AREA SPEC&CLEARANCE & BACK SONAR-WITH(INTELLIGENT CLEARANCE SONAR)
HEADLAMP-LED TRIPLE BEAM TYPE & WITH(*AHB)&CLEARANCE & BACK SONAR-WITH(INTELLIGENTCLEARANCE SONAR)
"F SPORT"*(F)&COLD AREA SPEC&HEADLAMP-LED TRIPLE BEAM TYPE & WITH(*AHB)&CLEARANCE& BACK SONAR-WITH(INTELLIGENT CLEARANCE SONAR)
"F SPORT"*(F)&COLD AREA SPEC&HEADLAMP-LED TRIPLE BEAM TYPE & WITH(*AHB)&CLEARANCE& BACK SONAR-WITH(*ICS & *RCTB)
"F SPORT"*(F)&COLD AREA SPEC&CLEARANCE & BACK SONAR-WITH(INTELLIGENT CLEARANCE SONAR)
"F SPORT"*(F)&COLD AREA SPEC&CLEARANCE & BACK SONAR-WITH(*ICS & *RCTB)
"F SPORT"*(F)&HEADLAMP-LED TRIPLE BEAM TYPE & WITH(*AHB)&CLEARANCE & BACK SONAR-WITH(INTELLIGENT CLEARANCE SONAR)
"F SPORT"*(F)&HEADLAMP-LED TRIPLE BEAM TYPE & WITH(*AHB)&CLEARANCE & BACK SONAR-WITH(*ICS & *RCTB)
COLD AREA SPEC&HEADLAMP-LED TRIPLE BEAM TYPE & WITH(*AHB)&CLEARANCE & BACK SONAR-WITH(INTELLIGENT CLEARANCE SONAR)
COLD AREA SPEC&HEADLAMP-LED TRIPLE BEAM TYPE & WITH(*AHB)&CLEARANCE & BACK SONAR-WITH(*ICS & *RCTB)
COLD AREA SPEC&CLEARANCE & BACK SONAR-WITH(*ICS & *RCTB)
HEADLAMP-LED TRIPLE BEAM TYPE & WITH(*AHB)&CLEARANCE & BACK SONAR-WITH(*ICS & *RCTB)
"F SPORT"*(F)&COLD AREA SPEC&HEADLAMP-LED SINGLE BEAM TYPE & WITH(*AHB&*AFLS)&CLEARANCE & BACK SONAR-WITH(INTELLIGENT CLEARANCE SONAR)
"F SPORT"*(F)&COLD AREA SPEC&HEADLAMP-LED SINGLE BEAM TYPE & WITH(*AHB&*AFLS)&CLEARANCE & BACK SONAR-WITH(*ICS & *RCTB)
"F SPORT"*(F)&HEADLAMP-LED SINGLE BEAM TYPE & WITH(*AHB&*AFLS)&CLEARANCE & BACK SONAR-WITH(INTELLIGENT CLEARANCE SONAR)
"F SPORT"*(F)&HEADLAMP-LED SINGLE BEAM TYPE & WITH(*AHB&*AFLS)&CLEARANCE & BACK SONAR-WITH(*ICS & *RCTB)
COLD AREA SPEC&HEADLAMP-LED SINGLE BEAM TYPE & WITH(*AHB&*AFLS)&CLEARANCE & BACK SONAR-WITH(INTELLIGENT CLEARANCE SONAR)
COLD AREA SPEC&HEADLAMP-LED SINGLE BEAM TYPE & WITH(*AHB&*AFLS)&CLEARANCE & BACK SONAR-WITH(*ICS & *RCTB)
HEADLAMP-LED SINGLE BEAM TYPE & WITH(*AHB&*AFLS)&CLEARANCE & BACK SONAR-WITH(INTELLIGENT CLEARANCE SONAR)
HEADLAMP-LED SINGLE BEAM TYPE & WITH(*AHB&*AFLS)&CLEARANCE & BACK SONAR-WITH(*ICS& *RCTB)
"F SPORT"*(F)&PARKING SUPPORT ALART/BRAKE-WITH(INTELLIGENT CLEARANCE SONAR)
"F SPORT"*(F)&PARKING SUPPORT ALART/BRAKE-WITH(*ICS & *RCTB)
PARKING SUPPORT ALART/BRAKE-WITH(INTELLIGENT CLEARANCE SONAR)
PARKING SUPPORT ALART/BRAKE-WITH(*ICS & *RCTB)
82821PCOVER, CONNECTOR
8401
89348XCLIP, ULTRASONIC SENSOR, FRONT
9008011433
main90080-11433
9008011545
main90080-11545
9 parts on this diagram · 16 diagrams in section