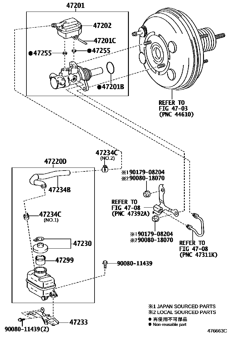
BRAKE MASTER CYLINDER

4703
4708
47201BRING, O(FOR BRAKE MASTER CYLINDER)
47201CRING PIN, BRAKE MASTER CYLINDER
47202RESERVOIR SUB-ASSY, BRAKE MASTER CYLINDER
47220DRESERVOIR ASSY, BRAKE MASTER CYLINDER
47234BTUBE, RESERVOIR, NO.1
NO.1
NO.2
47234CCLIP(FOR RESERVOIR TUBE NO.1)
NO.2
NO.1 & NO.2
NO.1
NO.2
47299STRAINER, BRAKE MASTER CYLINDER RESERVOIR
9008011439
main90080-11439
9008018070
main90080-18070
9017908204
main90179-08204
16 parts on this diagram · 2 diagrams in section