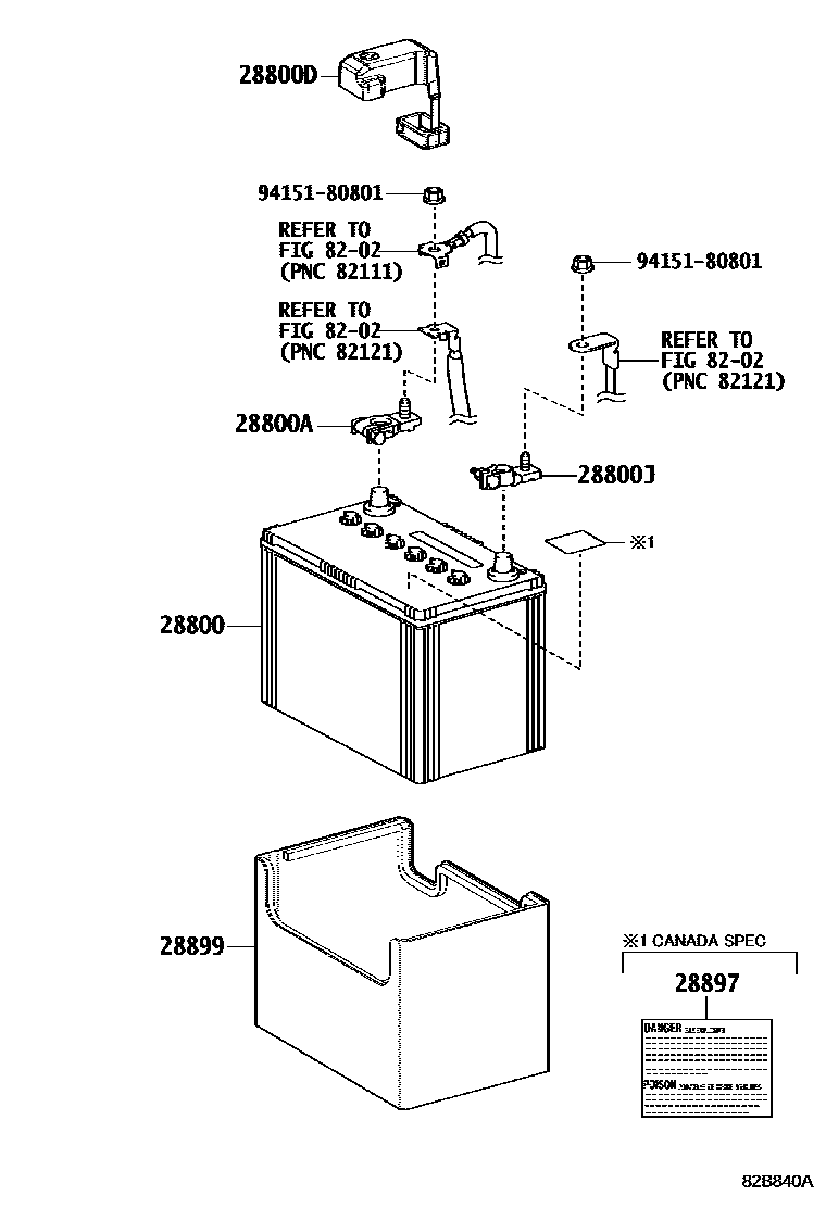
BATTERY & BATTERY CABLE

28800BATTERY
28800ATERMINAL, BATTERY POSITIVE
28800DCOVER, CONNECTOR(FOR BATTERY TERMINAL)
28800JTERMINAL, BATTERY NEGATIVE
28897PLATE, BATTERY CAUTION
main28897-46020
28899INSULATOR, BATTERY
8202
9415180801
main94151-80801
8 parts on this diagram · 5 diagrams in section