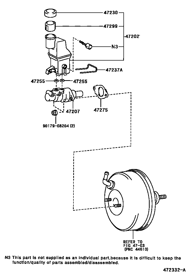
BRAKE MASTER CYLINDER

4703
47202RESERVOIR SUB-ASSY, BRAKE MASTER CYLINDER
W(VSC)
47207CYLINDER SUB-ASSY, BRAKE MASTER LESS RESERVOIR TANK
W(VSC)
47237ASTOPPER, BREKE MASTER CYLINDER RESERVOIR TANK
47255GROMMET, MASTER CYLINDER RESERVOIR
47275GASKET, BRAKE MASTER CYLINDER
47299STRAINER, BRAKE MASTER CYLINDER RESERVOIR
9017908204
main90179-08204
9 parts on this diagram · 2 diagrams in section