E
EPC Data

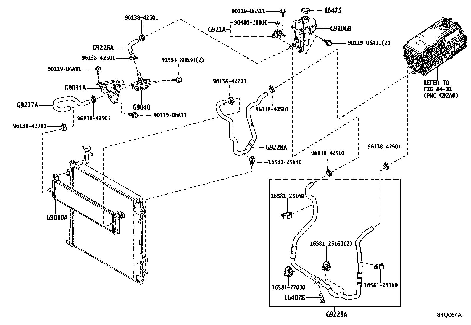
INVERTER COOLING

Parts diagram
16407BCOCK SUB-ASSY, RADIATOR DRAIN
main16407-64010i¥380202211-202410
16475CAP, RESERVE TANK
main16475-28140i¥1,200202211
8431
G9010ARADIATOR ASSY
mainG901048110i202211
G9031ABRACKET SUB-ASSY, HV WATER PUMP
mainG914142010i202211
G9040INVERTER WATER PUMP ASSY(W/MOTOR)
mainG904048030i202211
mainG904048050i202211
mainG904048060i202211
G910GBTANK SUB-ASSY, INVERTER RESERVE W/O CAP
mainG910G42010i202211
G921ABRACKET, INVERTER RESERVE TANK, NO.1
mainG91H242010i202211
G9226AHOSE, INVERTER COOLING, NO.2
mainG922642010i202211
mainG922642020i202211
mainG922648070i202211
G9227AHOSE, INVERTER COOLING, NO.3
mainG922748070i202211
mainG922748080i202211
mainG922748090i202211
G9228AHOSE, INVERTER COOLING, NO.4
mainG922848050i202211
mainG922848060i202211
G9229AHOSE, INVERTER COOLING, NO.5
mainG922948030i202211
mainG922948040i202410
mainG922948050i202211
mainG922948060i202211-202410
1658125130CLAMP, HOSE(FOR WATER HOSE)
main16581-25130¥260
1658125160CLAMP, HOSE(FOR WATER HOSE)
main16581-25160¥300
1658177030CLAMP, HOSE(FOR WATER HOSE)
main16581-77030¥450
9011906A11
main90119-06A11¥60
9048018010
main90480-18010¥130
9155380630
main91553-80630¥60
9613842501
main96138-42501¥180
9613842701
main96138-42701¥200

20 parts on this diagram · 4 diagrams in section

INVERTER COOLING — Toyota Parts Diagram with OEM Numbers & Prices | EPC Data