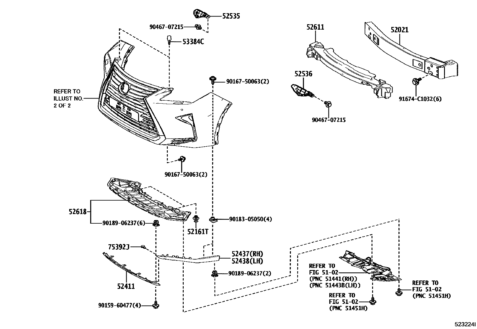
FRONT BUMPER & BUMPER STAY

5102
52161TPIECE, FRONT BUMPER
52411GUARD, FRONT BUMPER
52437COVER, FRONT BUMPER GUARD, RH
52438COVER, FRONT BUMPER GUARD, LH
52535RETAINER, FRONT BUMPER SIDE, RH
52536RETAINER, FRONT BUMPER SIDE, LH
52611ABSORBER, FRONT BUMPER ENERGY
53384CCUSHION, HOOD, CENTER
75392JRETAINER, OUTSIDE MOULDING
9015960477
main90159-60477
9016750063
main90167-50063
9018305050
main90183-05050
9018906237
main90189-06237
9046707215
main90467-07215
91674C1032
main91674-C1032
18 parts on this diagram · 9 diagrams in section