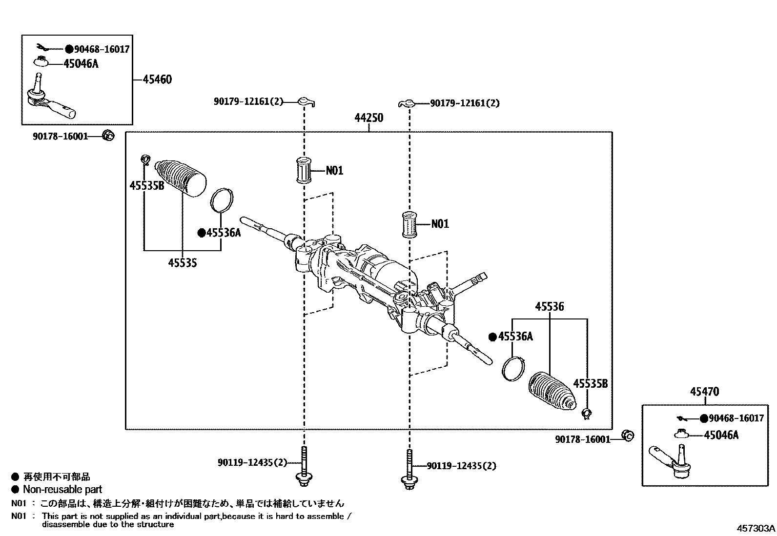
FRONT STEERING GEAR & LINK

44250GEAR ASSY, POWER STEERING(FOR RACK & PINION)
*614
SUSPENSION-AIR SUSPENSION & *AVS,*614
*614
*614
SUSPENSION-AIR SUSPENSION & *AVS,*614
*614
SUSPENSION-AIR SUSPENSION & *AVS,*614
*614
*614
SUSPENSION-AIR SUSPENSION & *AVS,*614
*614
SUSPENSION-AIR SUSPENSION & *AVS,*614
*614
*614
45046ANUT, CASTLE(FOR TIE ROD END)
45470ROD ASSY, TIE, LH
45535BOOT, STEERING RACK, NO.1
45535BCLIP(FOR STEERING RACK BOOT)
45536BOOT, STEERING RACK, NO.2
45536ACLAMP(FOR STEERING RACK BOOT NO.2)
9011912435
main90119-12435
9017816001
main90178-16001
9017912161
main90179-12161
9046816017
main90468-16017
12 parts on this diagram · 2 diagrams in section