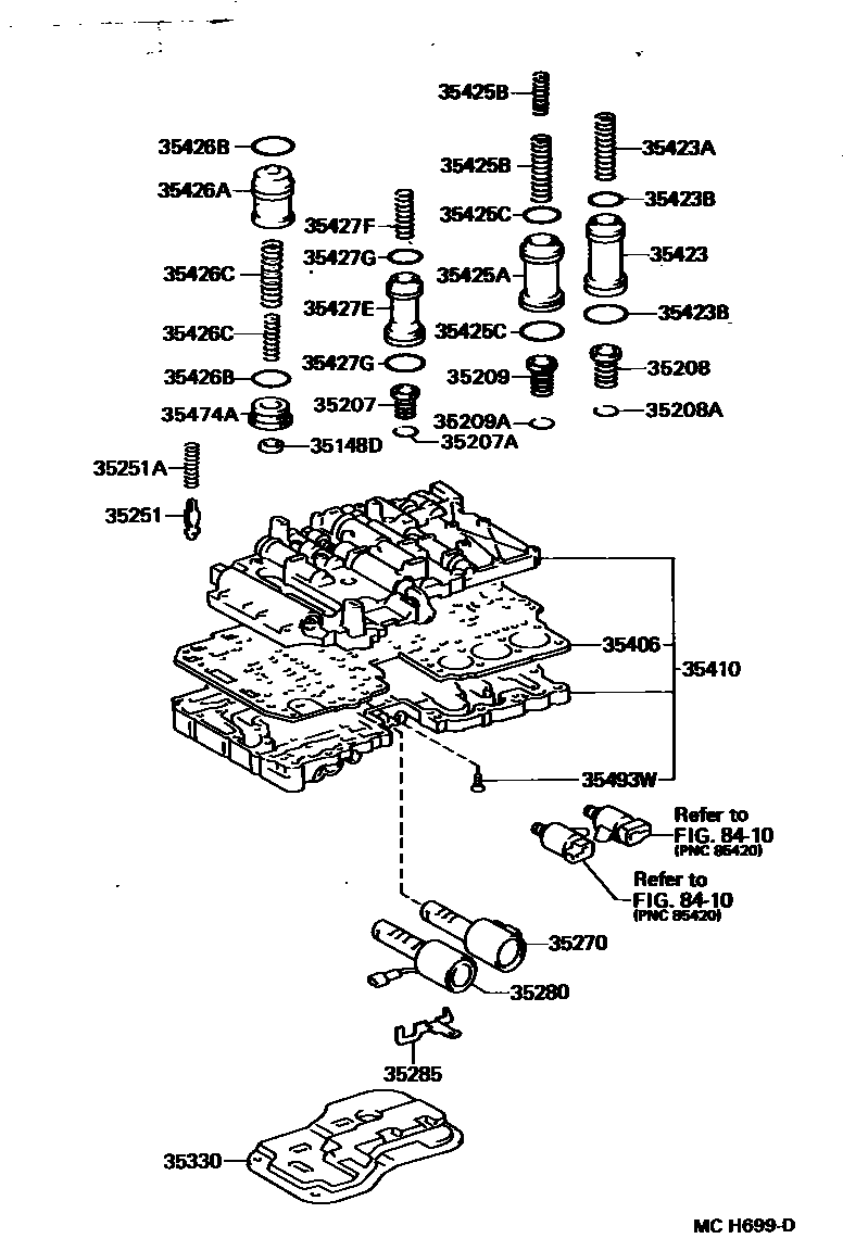
VALVE BODY & OIL STRAINER (ATM)

35148DGASKET (FOR C-O ACCUMULATOR PISTON)
35207SPRING SUB-ASSY, B-0 ACCUMULATOR
35207ARING, HOLE SNAP (FOR B-0 ACCUMULATOR SPRING)
35208SPRING SUB-ASSY, B-2 ACCUMULATOR
35208ARING, HOLE SNAP (FOR B-2 ACCUMULATOR SPRING)
35209SPRING SUB-ASSY, C-2 ACCUMULATOR
35209ARING, HOLE SNAP (FOR C-2 ACCUMULATOR SPRING)
35251BODY, CHECK BALL
35251ASPRING, COMPRESSION (FOR CHECK BALL BODY)
35270SOLENOID ASSY, SHIFT CONTROL
35280SOLENOID ASSY, LOCK UP CONTROL
35285PLATE, SOLENOID LOCK
35330STRAINER ASSY, VALVE BODY OIL
35406PLATE SUB-ASSY, VALVE BODY
35423ASPRING, COMPRESSION (FOR B-2 ACCUMULATOR PISTON)
35423BRING, O (FOR B-2 ACCUMULATOR PISTON)
UPR
35425BSPRING, COMPRESSION (FOR C-2 ACCUMULATOR PISTON)
OUTER
OUTER
OUTER
INNER
35425CRING, O (FOR C-2 ACCUMULATOR PISTON)
35426APISTON, C-0 ACCUMULATOR
35426BRING, O (FOR C-0 ACCUMULATOR PISTON)
sub90301-24010
35426CSPRING, COMPRESSION (FOR C-0 ACCUMULATOR PISTON)
OUTER
INNER
35427FSPRING, COMPRESSION (FOR B-0 ACCUMULATOR PISTON)
35427GRING, O (FOR B-0 ACCUMULATOR PISTON)
UPR
35474ACOVER, ACCUMULATOR
sub35474-30010
35493WSEAT, VALVE BODY
8410
30 parts on this diagram · 4 diagrams in section