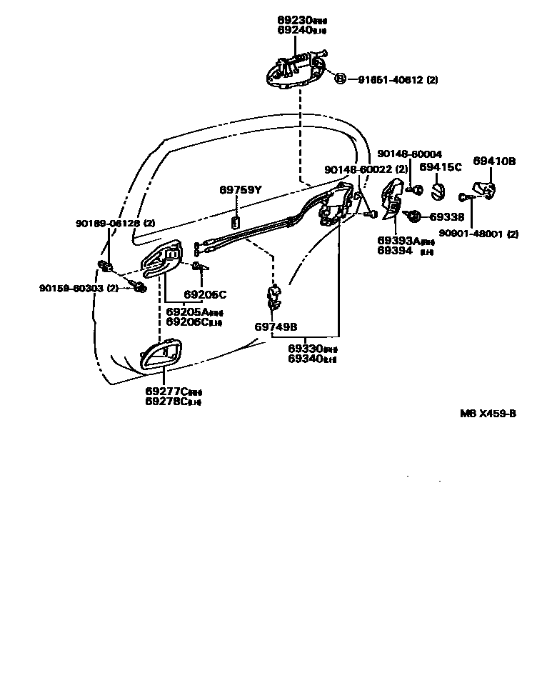
REAR DOOR LOCK & HANDLE

69205AHANDLE SUB-ASSY, REAR DOOR INSIDE, RH
IVORY,TRIM0#
MD.GRAY,TRIM1#
SPRUCE,TRIM6#
69205CCUSHION(FOR REAR DOOR INSIDE HANDLE)
69206CHANDLE SUB-ASSY, REAR DOOR INSIDE, LH
IVORY,TRIM0#
MD.GRAY,TRIM1#
SPRUCE,TRIM6#
69230HANDLE ASSY, REAR DOOR OUTSIDE, RH
WARM GRY P MC,046
TOURING PACKAGE,SUPER WHITE PEARL MC,051
SUPER WHITE PEARL MC,051
SUPER SILVER 3 M,176
DK.BL.GRAY ME,183
SILVER ME,199
TOURING PACKAGE,BLACK,F01
BLACK,202
WINE RED MICA,3J8
MAGENTA MC.,3L3
BEIGE ME,4K9
BEIGE ME.,4M9
TOURING PACKAGE,BEIGE ME.,S80
BLUEISH GREEN MIO,6M2
GRAYISH GREEN M.M.,6N0
DK. GREEN MC.P.I.O.,6N9
DK.BLUE MICA FP,8J5
DK.BLUE MC FP,8L1
69240HANDLE ASSY, REAR DOOR OUTSIDE, LH
WARM GRY P MC,046
SUPER WHITE PEARL MC,051
TOURING PACKAGE,SUPER WHITE PEARL MC,051
SUPER SILVER 3 M,176
DK.BL.GRAY ME,183
SILVER ME,199
TOURING PACKAGE,BLACK,F01
BLACK,202
WINE RED MICA,3J8
MAGENTA MC.,3L3
BEIGE ME,4K9
BEIGE ME.,4M9
TOURING PACKAGE,BEIGE ME.,S80
BLUEISH GREEN MMIO,6M2
GRAYISH GREEN M.M.,6N0
DK. GREEN MC.P.I.O.,6N9
DK.BLUE MICA FP,8J5
DK.BLUE MC FP,8L1
69277CBEZEL, REAR DOOR INSIDE HANDLE, RH
IVORY,TRIM0#
GRAY,TRIM1#
LI.SPRUCE,TRIM6#
69278CBEZEL, REAR DOOR INSIDE HANDLE, LH
IVORY,TRIM0#
GRAY,TRIM1#
LI.SPRUCE,TRIM6#
69330LOCK ASSY, REAR DOOR, RH
69338KNOB, CHILD PROTECTOR LOCK LEVER
69340LOCK ASSY, REAR DOOR, LH
69393ACOVER, REAR DOOR LOCK, OUTER RH
69394COVER, REAR DOOR LOCK, OUTER LH
69410BPLATE ASSY, REAR DOOR LOCK STRIKER
69415CCOVER, DOOR LOCK STRIKER, REAR
69749BCLAMP, REAR DOOR LOCK LINK
69759YSILENCER, REAR DOOR LOCK LINK
9014860004
main90148-60004
9014860022
main90148-60022
9015960303
main90159-60303
9018906128
main90189-06128
9090148001
main90901-48001
9165140612
main91651-40612
22 parts on this diagram · 1 diagram in section