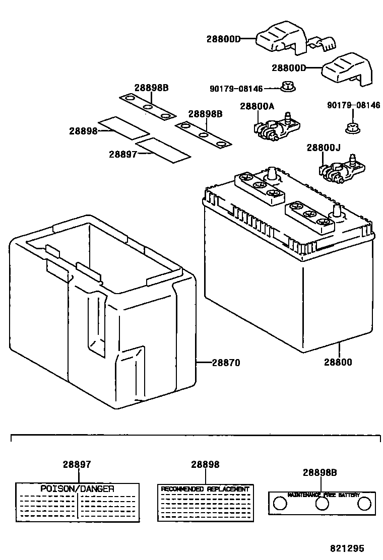
BATTERY & BATTERY CABLE

28800BATTERY
75D31L
95D31L
95D31L
80D26L
28800ATERMINAL, BATTERY POSITIVE
28800DCOVER, CONNECTOR(FOR BATTERY TERMINAL)
POSTIVE TERMINAL
NEGATIVE TERMINAL
28800JTERMINAL, BATTERY NEGATIVE
28870INSULATOR ASSY, BATTERY
28897PLATE, BATTERY CAUTION
28898BPLATE, BATTERY
9017908146
main90179-08146
9 parts on this diagram · 1 diagram in section