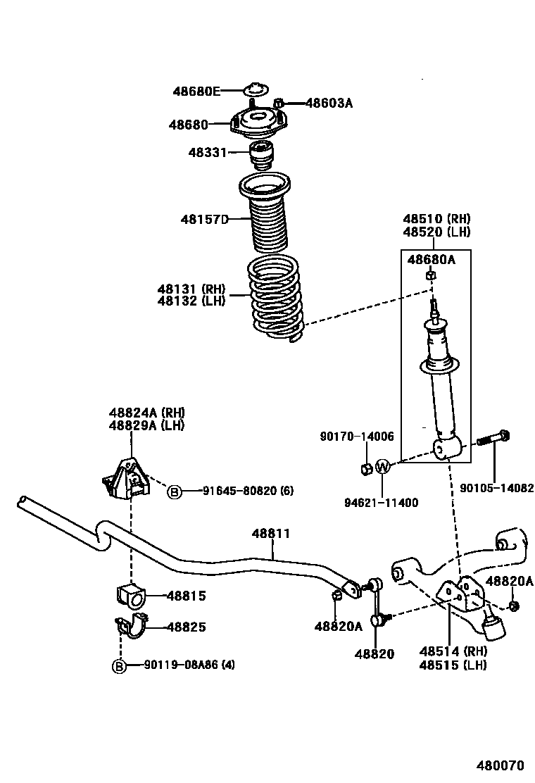
FRONT SPRING & SHOCK ABSORBER

48157DINSULATOR, FRONT COIL SPRING
48331BUMPER, FRONT SPRING, NO.1
48514BRACKET, FRONT SHOCK ABSORBER, LOWER RH
48515BRACKET, FRONT SHOCK ABSORBER, LOWER LH
48603ANUT(FOR FRONT SUSPENSION SUPPORT)
48680EPLUG, HOLE(FOR FRONT SUSPENSION SUPPORT)
48811BAR, STABILIZER, FRONT
48820LINK ASSY, FRONT STABILIZER
48820ANUT(FOR FRONT STABILIZER LINK)
48824ABRACKET, FRONT STABILIZER, NO.1 RH
48825BRACKET, STABILIZER, NO.2
48829ABRACKET, FRONT STABILIZER, NO.1 LH
9010514082
main90105-14082
9011908A86
main90119-08A86
9017014006
main90170-14006
9164580820
main91645-80820
9462111400
main94621-11400
24 parts on this diagram · 1 diagram in section