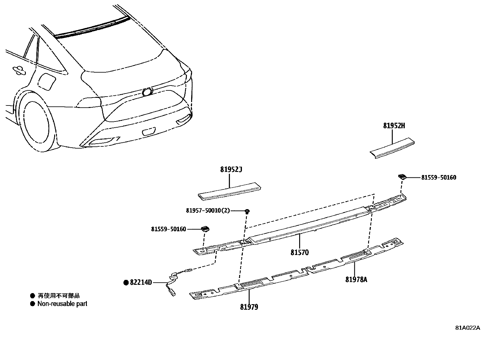
CENTER STOP LAMP

81570LAMP ASSY, CENTER STOP
81952HCOVER, CENTER STOP LAMP, RH
81952JCOVER, CENTER STOP LAMP, LH
81978ABRACKET, CENTER STOP LAMP, RH
81979BRACKET, CENTER STOP LAMP, LH
82214DWIRE, CENTER STOP LAMP
8155950160MOULDING, REAR COMBINATION LAMP, RH
main81559-50160
8195750010
main81957-50010
8 parts on this diagram · 1 diagram in section