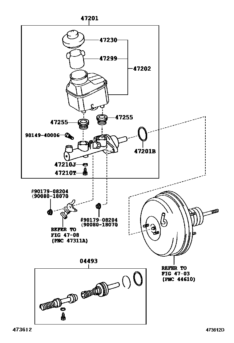
BRAKE MASTER CYLINDER

04493CYLINDER KIT, BRAKE MASTER
VSC-WITH
4703
4708
47201CYLINDER SUB-ASSY, BRAKE MASTER
VEHICLE STABILITY CONT-WITH
47201BRING, O(FOR BRAKE MASTER CYLINDER)
47202RESERVOIR SUB-ASSY, BRAKE MASTER CYLINDER
VEHICLE STABILITY CONT-WITH
47210JGASKET(FOR MASTER CYLINDER)
47210TBOLT(FOR BRAKE MASTER CYLINDER)
47255GROMMET, MASTER CYLINDER RESERVOIR
VEHICLE STABILITY CONT-WITH
47299STRAINER, BRAKE MASTER CYLINDER RESERVOIR
9008018070
main90080-18070
9014940006
main90149-40006
9017908204
main90179-08204
14 parts on this diagram · 2 diagrams in section