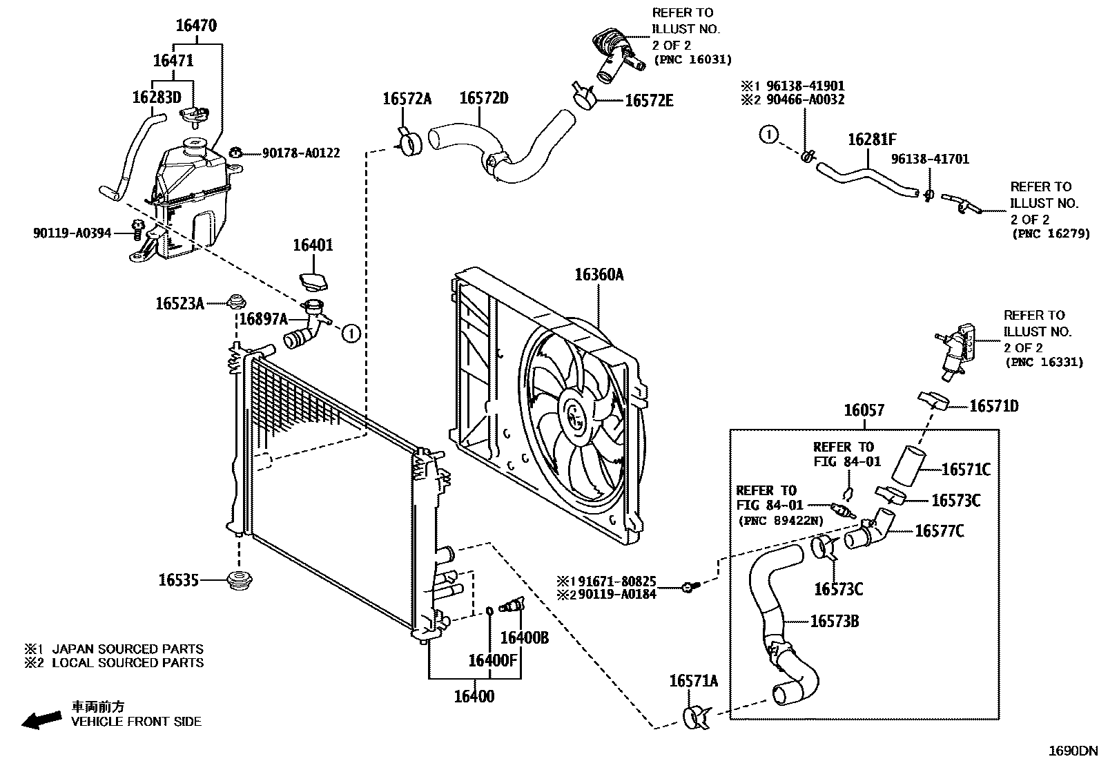
RADIATOR & WATER OUTLET

16057HOSE SUB-ASSY, RADIATOR
16281HOSE, WATER BY-PASS, NO.4
*636,*744 OR *745
16281FHOSE, WATER BY-PASS, NO.5
16283HOSE, WATER BY-PASS, NO.6
*636,*744 OR *745
16283DHOSE, WATER BY-PASS, NO.6
16360AFAN ASSY, W/MOTOR
16400RADIATOR ASSY
16400BPLUG, RADIATOR DRAIN COCK
sub16417-21280
16400FPACKING(FOR RADIATOR DRAIN COCK)
16401CAP SUB-ASSY, RADIATOR
16470TANK ASSY, RADIATOR RESERVE
16471CAP SUB-ASSY, RESERVE TANK
16523ACUSHION, RADIATOR SUPPORT
16571ACLAMP OR CLIP, HOSE(FOR RADIATOR INLET)
(J)
(L)
16571CHOSE, RADIATOR, NO.1
16571DCLIP, RADIATOR HOSE, NO.1
(J)
(L)
16572ACLAMP OR CLIP, HOSE(FOR RADIATOR OUTLET NO.1)
(J)
(L)
16572DHOSE, RADIATOR, NO.2
16572ECLIP, RADIATOR HOSE, NO.2
(J)
(L)
16573BHOSE, RADIATOR, NO.3
16573CCLAMP OR CLIP, RADIATOR HOSE, NO.3
16577CPIPE, RADIATOR
16897ANECK, FILLER
8401
90119A0184
main90119-A0184
90119A0394
main90119-A0394
90178A0122
main90178-A0122
90466A0032
main90466-A0032
9167180825
main91671-80825
9613841701
main96138-41701
9613841901
main96138-41901
32 parts on this diagram · 2 diagrams in section