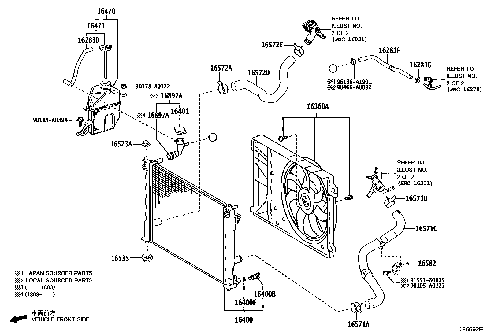
RADIATOR & WATER OUTLET

16281HOSE, WATER BY-PASS, NO.4
*132
*132
*495
*495
16281FHOSE, WATER BY-PASS, NO.5
16281GCLIP(FOR WATER BY-PASS HOSE NO.5)
16283HOSE, WATER BY-PASS, NO.6
*132
*132,*495
*495
*495
16360AFAN ASSY, W/MOTOR
16400BPLUG, RADIATOR DRAIN COCK
sub16417-21280
16400FPACKING(FOR RADIATOR DRAIN COCK)
16401CAP SUB-ASSY, RADIATOR
16523ACUSHION, RADIATOR SUPPORT
16571ACLAMP OR CLIP, HOSE(FOR RADIATOR INLET)
(J)
(L)
16571CHOSE, RADIATOR, NO.1
16571DCLIP, RADIATOR HOSE, NO.1
(J)
(L)
16572ACLAMP OR CLIP, HOSE(FOR RADIATOR OUTLET NO.1)
(J)
(L)
16572DHOSE, RADIATOR, NO.2
16572ECLIP, RADIATOR HOSE, NO.2
(J),NO.1:SEE ILLUST
(J)
(L),NO.2:SEE ILLUST
(L)
(L),NO.1:SEE ILLUST
16582BRACKET, RADIATOR, NO.1
16897ANECK, FILLER
90105A0127
main90105-A0127
90119A0394
main90119-A0394
90178A0122
main90178-A0122
90466A0032
main90466-A0032
9155180825
main91551-80825
9613641901
main96136-41901
28 parts on this diagram · 10 diagrams in section