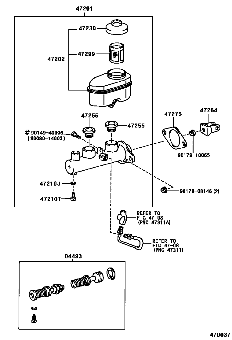
BRAKE MASTER CYLINDER

04493CYLINDER KIT, BRAKE MASTER
W(ABS),(L)
(L)
W(ABS)
W(ABS),(J)
W(TRACTION CONTROL)
W(TRACTION CONTROL)
(J)
4708
47201CYLINDER SUB-ASSY, BRAKE MASTER
(L)
W(ABS),(L)
W(ABS)
W(ABS),(L)
W(TRACTION CONTROL)
W(ABS),(J)
W(TRACTION CONTROL)
(J)
W(ABS),(J)
W(TRACTION CONTROL)
47202RESERVOIR SUB-ASSY, BRAKE MASTER CYLINDER
(L)
W(TRACTION CONTROL)
(J)
47210JGASKET(FOR MASTER CYLINDER)
47210TBOLT(FOR BRAKE MASTER CYLINDER)
47230CAP ASSY, BRAKE MASTER CYLINDER RESERVOIR FILLER
47255GROMMET, MASTER CYLINDER RESERVOIR
W(TRACTION CONTROL)
47264CLEVIS, MASTER CYLINDER PUSH ROD
47275GASKET, BRAKE MASTER CYLINDER
47299STRAINER, BRAKE MASTER CYLINDER RESERVOIR
9008014003
main90080-14003
9014940006
main90149-40006
9017908146
main90179-08146
9017910065
main90179-10065
15 parts on this diagram · 2 diagrams in section