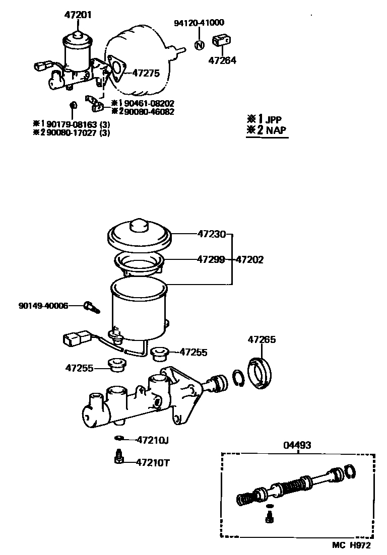
BRAKE MASTER CYLINDER

04493CYLINDER KIT, BRAKE MASTER
sub04493-33030
47201CYLINDER SUB-ASSY, BRAKE MASTER
W(*66)
47202RESERVOIR SUB-ASSY, BRAKE MASTER CYLINDER
W(*66)
47230CAP ASSY, BRAKE MASTER CYLINDER RESERVOIR FILLER
W(*66)
47255GROMMET, MASTER CYLINDER RESERVOIR
W(*66)
47264CLEVIS, MASTER CYLINDER PUSH ROD
W(*66)
47265BOOT, MASTER CYLINDER
W(*66)
47275GASKET, BRAKE MASTER CYLINDER
W(*66)
47299STRAINER, BRAKE MASTER CYLINDER RESERVOIR
W(*66)
9008017027
main90080-17027
9008046082
main90080-46082
9014940006
main90149-40006
9017908163
main90179-08163
9046108202
main90461-08202
9412041000
main94120-41000
17 parts on this diagram · 1 diagram in section