E
EPC Data
Pricing
API Docs
Sign In
Home
›
US
›
2824A0
›
VENTILATION HOSE
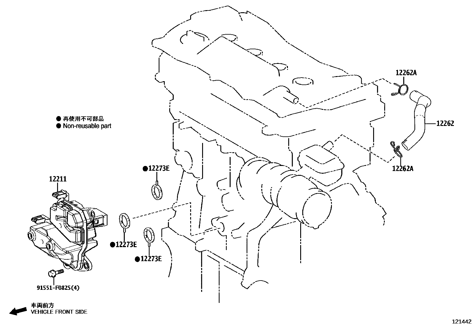
VENTILATION HOSE
0001 1
0002 1
12211
CASE, VENTILATION, NO.1
main
12211-25010
i
A25AFXS..AXZH10
201807-202007
sub
12211-25011
main
12211-25011
i
A25AFXS..AXZH1#
202008-202110
12262
HOSE, VENTILATION, NO.2
main
12262-25060
i
A25AFXS..AXZH1#
201807-202110
main
12262-31190
i
2GRFKS..GSZ10
201806
12262A
CLIP(FOR VENTILATION HOSE NO.2)
main
90467-21004
i
A25AFXS..AXZH1#
201806-202110
12273E
GASKET(FOR VENTILATION CASE)
main
12273-24010
i
A25AFXS..AXZH11
201807-202110
91551F0825
main
91551-F0825
5 parts on this diagram · 2 diagrams in section
VENTILATION HOSE — Toyota Parts Diagram with OEM Numbers & Prices | EPC Data