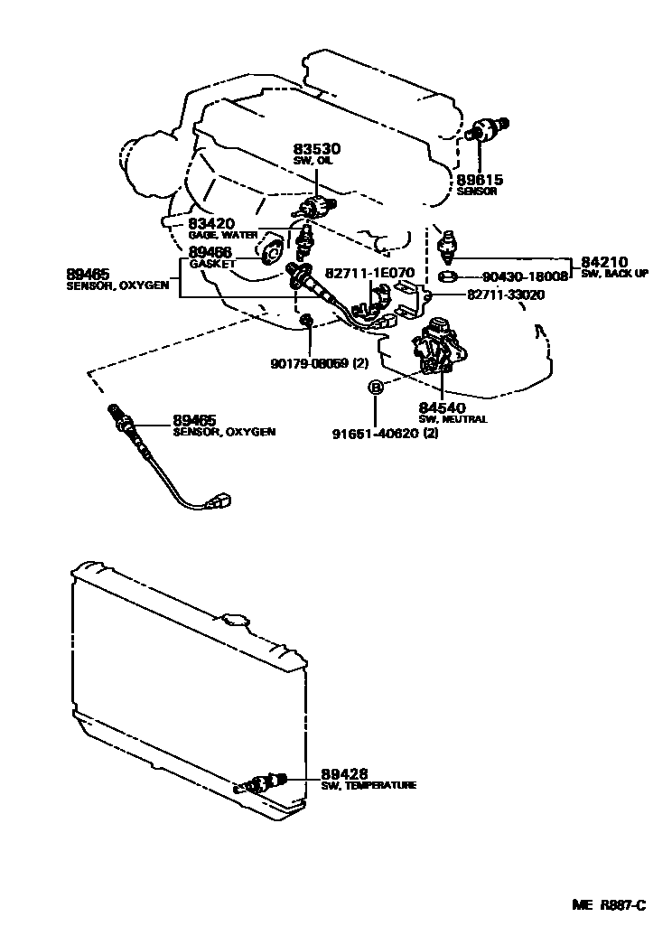
SWITCH & RELAY & COMPUTER

83530SWITCH ASSY, OIL PRESSURE (FOR ENGINE)
sub83530-60040
84210SWITCH ASSY, BACK-UP LAMP
sub84210-52050
84540SWITCH ASSY, NEUTRAL START
MATSUSHITA
89428SWITCH, TEMPERATURE DETECT, NO.2
89465SENSOR, OXYGEN
REAR
CALIFORNIA SPEC,REAR
CALIFORNIA SPEC,REAR
REAR
FRONT
CALIFORNIA SPEC,REAR
REAR
CALIFORNIA SPEC,FRONT
FRONT
FRONT
FRONT
CALIFORNIA SPEC,FRONT
CALIFORNIA SPEC,FRONT
FRONT
89466GASKET, OXYGEN SENSOR
827111E070WIRE, FUSE TO FUSE(FOR COMBUSTION HEATER)
main82711-1E070
8271133020WIRE, FUSE TO FUSE(FOR COMBUSTION HEATER)
main82711-33020
9017908059
main90179-08059
9043018008
main90430-18008
9165140620
main91651-40620
13 parts on this diagram · 9 diagrams in section