E
EPC Data

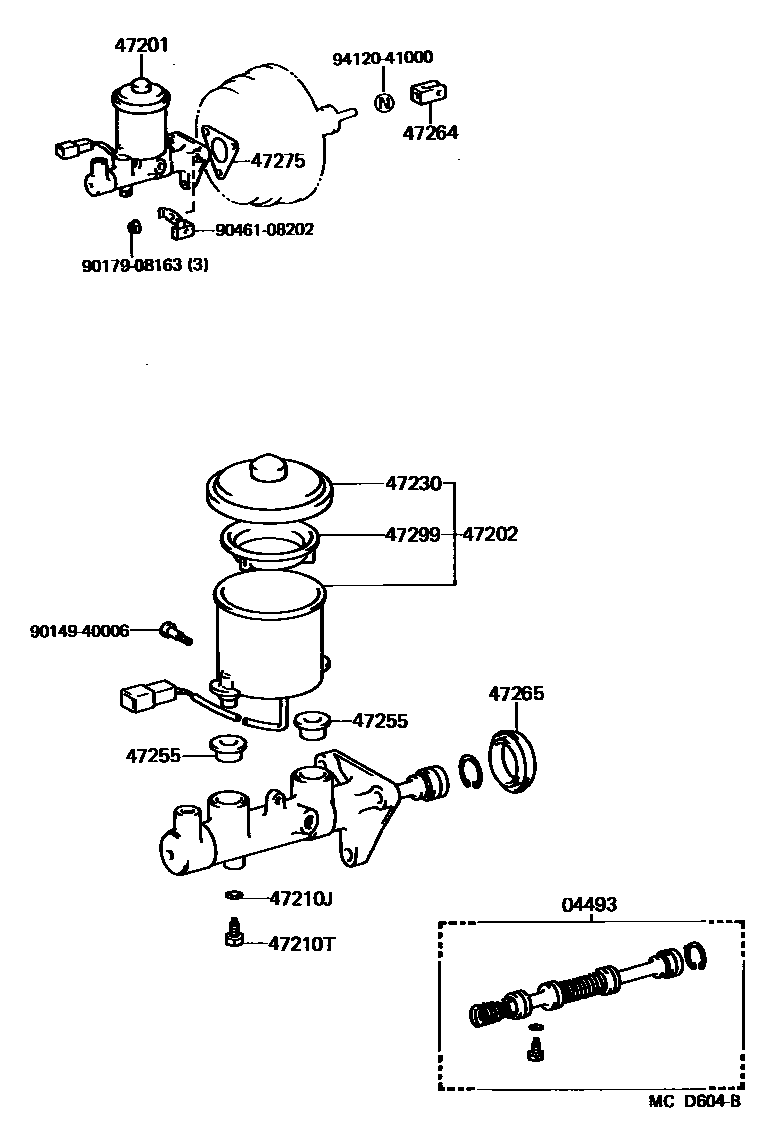
BRAKE MASTER CYLINDER

Parts diagram
04493CYLINDER KIT, BRAKE MASTER
main04493-32040i198808-199106
main04493-32061i198808-199106
W(*66)
main04493-32070i198908-199106
W(*66)
47201CYLINDER SUB-ASSY, BRAKE MASTER
main47201-32150i198808-199106
main47201-32210i198808-199106
W(*66)
main47201-32220i198908-199106
W(*66)
47202RESERVOIR SUB-ASSY, BRAKE MASTER CYLINDER
main47220-32020i198808-199106
47210JGASKET(FOR MASTER CYLINDER)
main90430-06104i198808-199106
47210TBOLT(FOR BRAKE MASTER CYLINDER)
main90109-06077i198808-199106
main90109-06144i198808-199106
W(*66)
47230CAP ASSY, BRAKE MASTER CYLINDER RESERVOIR FILLER
main47230-16010i198808-199106
47255GROMMET, MASTER CYLINDER RESERVOIR
main47255-16010i198808-199106
47264CLEVIS, MASTER CYLINDER PUSH ROD
main47264-20040i198808-199106
47265BOOT, MASTER CYLINDER
main47265-20050i198808-199106
47275GASKET, BRAKE MASTER CYLINDER
main47275-32010i198808-199106
47299STRAINER, BRAKE MASTER CYLINDER RESERVOIR
main47299-16010i198808-199106
9014940006
9017908163
9046108202
9412041000

15 parts on this diagram · 1 diagram in section

BRAKE MASTER CYLINDER — Toyota Parts Diagram with OEM Numbers & Prices | EPC Data