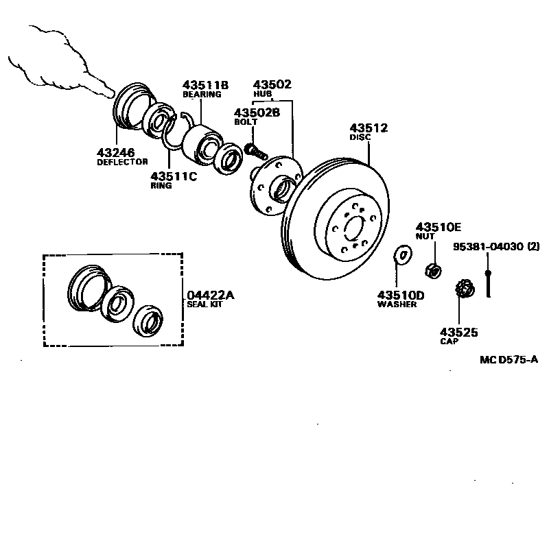
FRONT AXLE HUB

04422ASEAL KIT, FRONT AXLE OIL
43246DEFLECTOR, FRONT WHEEL BEARING DUST, NO.1
43502BBOLT, HUB (FOR FRONT AXLE)
43510DWASHER, CLAW (FOR STEERING KNUCKLE WASHER)
43510ENUT (FOR STEERING KNUCKLE)
43511BBEARING (FOR FRONT AXLE HUB)
43511CRING, HOLE SNAP (FOR FRONT AXLE HUB)
OD=79
T=2.50-2.57,T=2.50-2.57
T=2.57-2.62,T=2.57-2.62
T=2.62-2.67,T=2.62-2.67
T=2.67-2.72,T=2.67-2.72
43525CAP, FRONT WHEEL ADJUSTING LOCK
9538104030
main95381-04030
11 parts on this diagram · 1 diagram in section