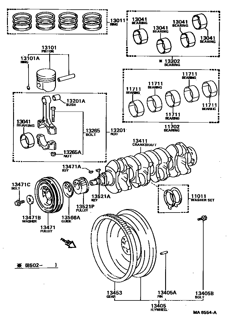
CRANKSHAFT & PISTON

11011WASHER SET, CRANKSHAFT THRUST
STD
STD,STD
O/S 0.125,O/S 0.125
O/S 0.250,O/S 0.250
11702BEARING SET, CRANKSHAFT
11711BEARING, CRANKSHAFT
13011RING SET, PISTON
STD
STD,STD
O/S 0.50
O/S 0.50,O/S 0.50
13041BEARING, CONNECTING ROD
MARK"1",MARK 1
MARK"2",MARK 2
MARK"3",MARK 3
13101PISTON SUB-ASSY, W/PIN
STD
STD,STD
STD
STD,STD
O/S 0.50
O/S 0.50,O/S 0.50
O/S 0.50
O/S 0.50,O/S 0.50
O/S 0.75
O/S 0.75,O/S 0.75
O/S 1.00
O/S 1.00,O/S 1.00
13101ARING, HOLE SNAP(FOR PISTON PIN)
13202BEARING SET, CONNECTING ROD
U/S 0.25,U/S 0.25
13265BOLT, CONNECTING ROD
13265ANUT, HEXAGON(FOR CONNECTING ROD BOLT)
13405APIN, STRAIGHT(FOR FLYWHEEL)
L=23,OD=8
13405BBOLT, FLYWHEEL SETTING
13453GEAR, FLYWHEEL RING
13471PULLEY, CRANKSHAFT
13471AKEY, CRANKSHAFT(FOR CRANKSHAFT PULLEY SET)
13471BWASHER, PLATE(FOR CRANKSHAFT PULLEY SET)
sub90201-14030
24 parts on this diagram · 2 diagrams in section