E
EPC Data

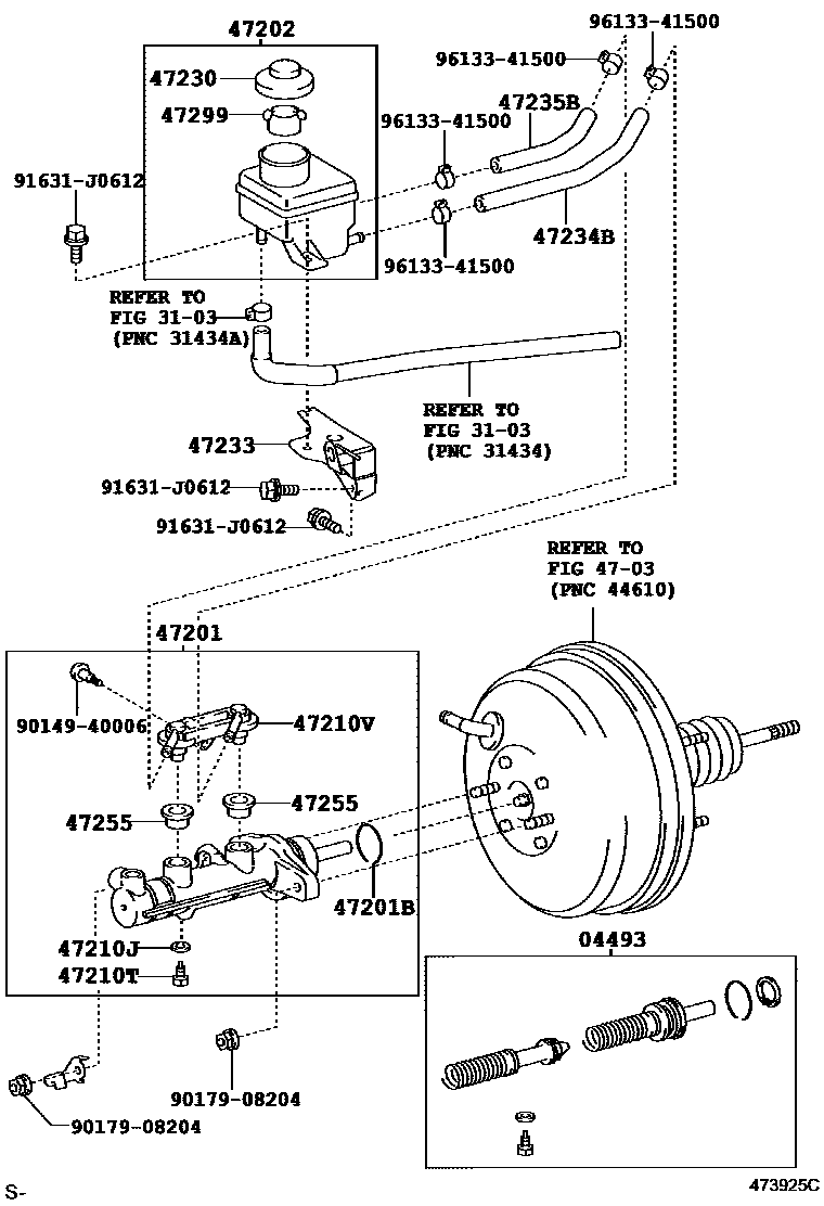
BRAKE MASTER CYLINDER

Parts diagram
04493CYLINDER KIT, BRAKE MASTER
main04493-1A030i200405-201007
3103
4703
47201CYLINDER SUB-ASSY, BRAKE MASTER
main47201-21080i200405-201007
47201BRING, O(FOR BRAKE MASTER CYLINDER)
main90029-20059i200405
47202RESERVOIR SUB-ASSY, BRAKE MASTER CYLINDER
main47220-21030i200405-201007
main47220-21040i200405-201007
47210JGASKET(FOR MASTER CYLINDER)
main90029-43001i200405
47210TBOLT(FOR BRAKE MASTER CYLINDER)
main90109-06077i200405
47210VUNION(FOR BRAKE MASTER CYLINDER)
main90029-40402i200405
47230CAP ASSY, BRAKE MASTER CYLINDER RESERVOIR FILLER
main47230-12040i200405
47233BRACKET, RESERVOIR
main47233-21010i200405
47234BTUBE, RESERVOIR, NO.1
main47234-21010i200405
47235BTUBE, BRAKE MASTER CYRINDER RESERVOIR, NO.2
main47235-21010i200405
47255GROMMET, MASTER CYLINDER RESERVOIR
main47255-16010×2i200405
47299STRAINER, BRAKE MASTER CYLINDER RESERVOIR
main47299-20060i200405
9014940006
9017908204
91631J0612
9613341500

19 parts on this diagram · 1 diagram in section

BRAKE MASTER CYLINDER — Toyota Parts Diagram with OEM Numbers & Prices | EPC Data