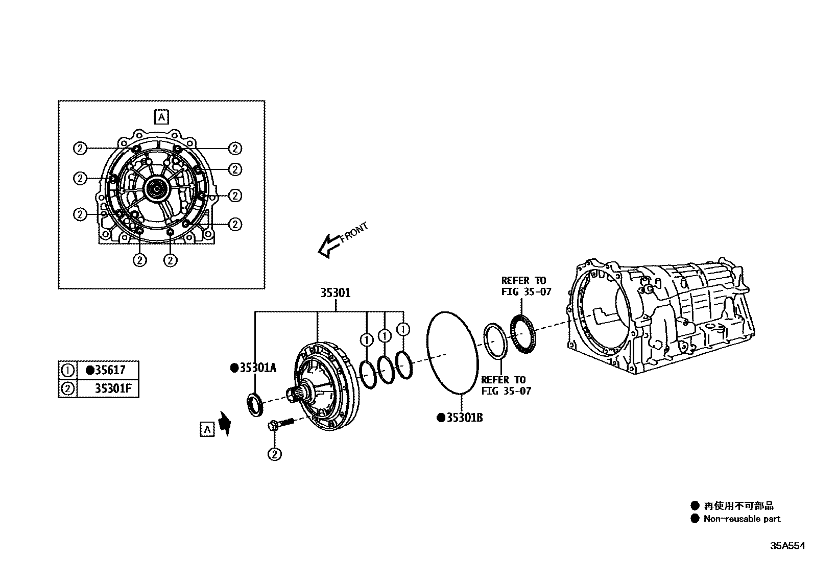
TORQUE CONVERTER, FRONT OIL PUMP & CHAIN (ATM)

3507
35301BODY SUB-ASSY, FRONT OIL PUMP
35301ASEAL, OIL (FOR FRONT OIL PUMP)
35301BRING, O (FOR FRONT OIL PUMP BODY)
35301FBOLT (FOR FRONT OIL PUMP SETTING)
35617RING, CLUTCH DRUM OIL SEAL
6 parts on this diagram · 2 diagrams in section