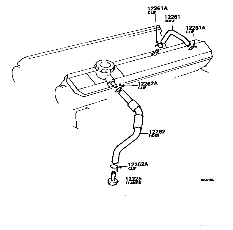
VENTILATION HOSE

12225FLANGE, VENTILATION
12261HOSE, VENTILATION
12261ACLIP OR CLAMP(FOR VENTILATION HOSE)
12262HOSE, VENTILATION, NO.2
12262ACLIP(FOR VENTILATION HOSE NO.2)
5 parts on this diagram · 2 diagrams in section

5 parts on this diagram · 2 diagrams in section