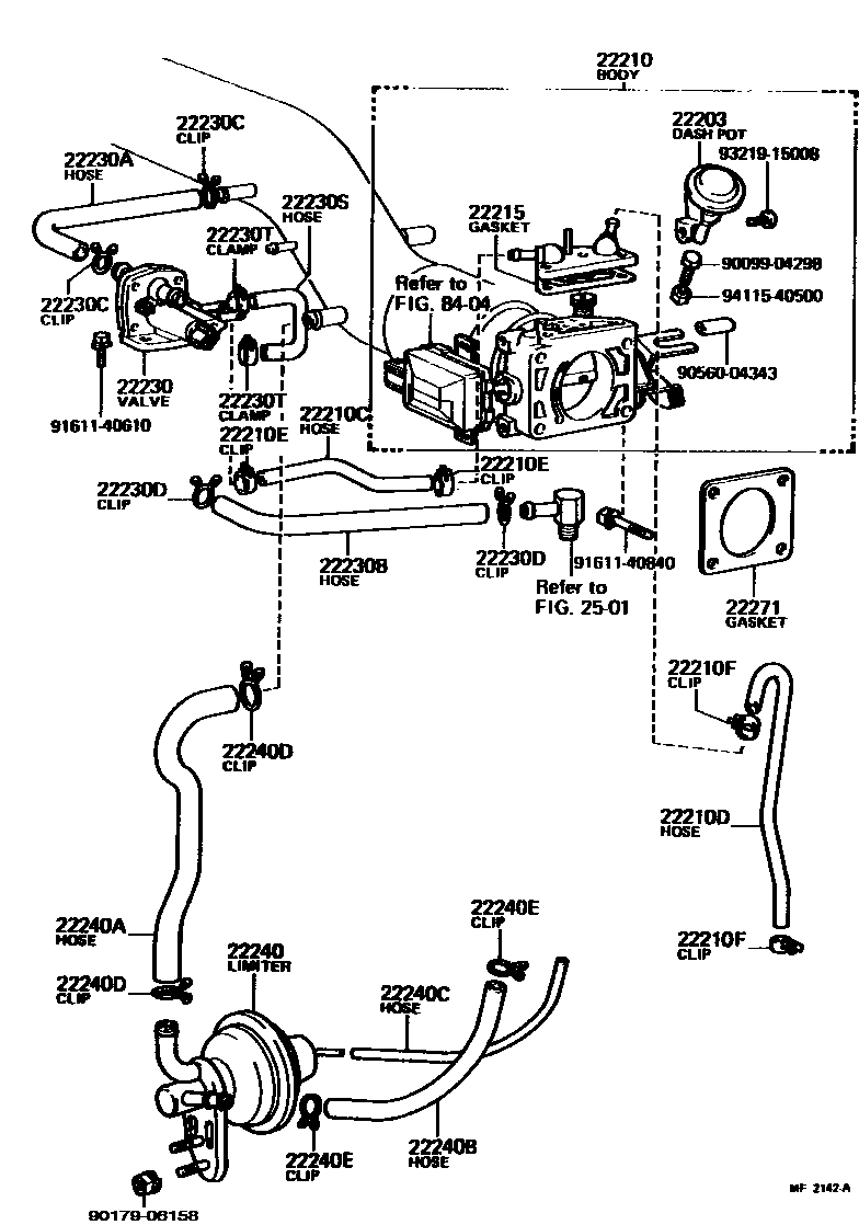
FUEL INJECTION SYSTEM

22203DASH POT SUB-ASSY(FOR THROTTLE BODY)
sub22203-70010
22210BODY ASSY, THROTTLE
22210CHOSE, WATER BY-PASS, NO.1
22210DHOSE, WATER BY-PASS, NO.2
22210ECLAMP OR CLIP, HOSE(FOR WATER BY-PASS HOSE, NO.1)
sub96135-51300
22210FCLAMP OR CLIP, HOSE (FOR WATER BY-PASS HOSE, NO.2)
sub96135-51300
22215GASKET, THROTTLE BODY COVER
22230VALVE ASSY, AUXILIARY AIR
22230AHOSE, AUXILIARY AIR VALVE, NO.1
22230BHOSE, AUXILIARY AIR VALVE, NO.2
22230CCLIP, AUXILIARY AIR VALVE HOSE, NO.1
22230DCLIP, AUXILIARY AIR VALVE HOSE, NO.2
22230SHOSE, WATER BY-PASS(FOR AUXILIARY AIR VALVE)
22230TCLAMP OR CLIP, HOSE(FOR WATER BY-PASS)
sub96135-51300
22240LIMITER ASSY, VACUUM
22240AHOSE, VACUUM LIMITER, NO.1
22240BHOSE, VACUUM LIMITER, NO.2
sub17345-43010
22240CHOSE, VACUUM LIMITER, NO.3
22240DCLIP, VACUUM LIMITER HOSE, NO.1
22240ECLIP, VACUUM LIMITER HOSE, NO.2
22271GASKET, THROTTLE BODY
sub22271-43020
2501
8404
9009904298
main90099-04298
9017906158
main90179-06158
9056004343
main90560-04343
9161140610
main91611-40610
9161140840
main91611-40840
9321915008
main93219-15008
9411540500
main94115-40500
30 parts on this diagram · 4 diagrams in section