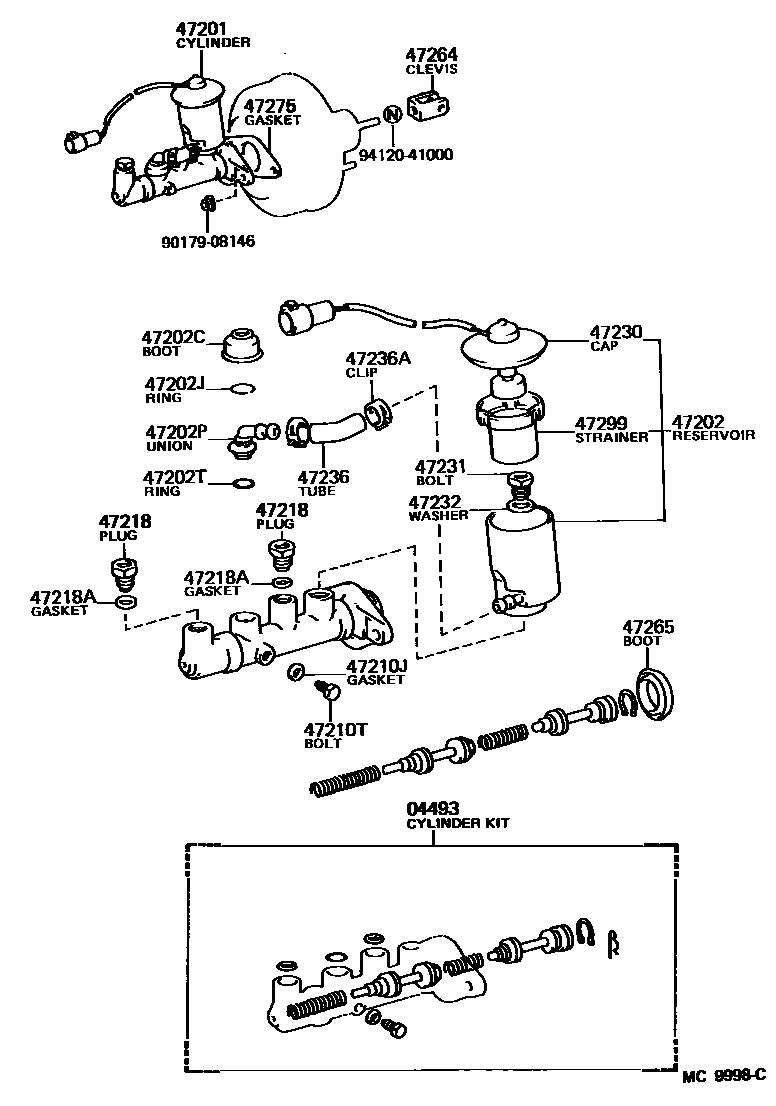
BRAKE MASTER CYLINDER

04493CYLINDER KIT, BRAKE MASTER
47201CYLINDER SUB-ASSY, BRAKE MASTER
47202RESERVOIR SUB-ASSY, BRAKE MASTER CYLINDER
47202CBOOT, RESERVOIR, NO.1(FOR BRAKE MASTER CYLINDER SIDE)
47202JRING, SNAP(FOR BRAKE MASTER CYLINDER SIDE)
47202PUNION, RESERVOIR(FOR BRAKE MASTER CYLINDER SIDE)
sub90407-10004
47202TRING(FOR BRAKE MASTER CYLINDER RESERVOIR, NO.1)
47210JGASKET(FOR MASTER CYLINDER)
47210TBOLT(FOR BRAKE MASTER CYLINDER)
47218PLUG, MASTER CYLINDER FLUID OUTLET
47218AGASKET(FOR FLUID OUTLET PLUG)
47230CAP ASSY, BRAKE MASTER CYLINDER RESERVOIR FILLER
47231BOLT, BRAKE MASTER CYLINDER RESERVOIR SET
47232WASHER, BRAKE RESERVOIR SET BOLT
47236TUBE, RESERVOIR BRAKE
47236ACLIP(FOR RESERVOIR TUBE)
sub96134-51500
47264CLEVIS, MASTER CYLINDER PUSH ROD
47265BOOT, MASTER CYLINDER
47275GASKET, BRAKE MASTER CYLINDER
sub47275-26010
47299STRAINER, BRAKE MASTER CYLINDER RESERVOIR
9017908146
main90179-08146
9412041000
main94120-41000
22 parts on this diagram · 1 diagram in section