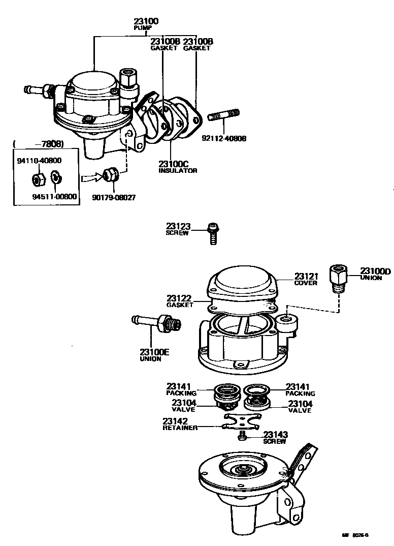
FUEL PUMP & PIPE

23100PUMP ASSY, FUEL
sub23100-29086
CANADA SPEC.
CALIFORNIA SPEC.
sub23101-38010
sub23206-29015
sub23215-26060
sub23216-38020
sub23217-26060
sub23218-38010
sub23219-26060
sub23228-38020
sub90092-20383
sub90099-01280
sub90099-01428
sub90099-19103
sub90099-80404
CALIFORNIA SPEC.
sub23101-38010
sub23206-29025
sub23215-26060
sub23216-38020
sub23217-26060
sub23218-38010
sub23219-26060
sub90092-20383
sub90099-01280
sub90099-01428
sub90099-19101
sub90099-19102
sub90099-80404
sub23100-29206
sub23100-29207
CAL.& H.A.
sub23100-29276
23100DUNION, NIPPLE(FOR FUEL OUTLET)
23100EUNION, NIPPLE(FOR FUEL INLET)
CANADA SPEC.
23104VALVE SUB-ASSY
23121COVER, FUEL PUMP
CAL.& H.A.
CANADA SPEC.
CANADA SPEC.
23122GASKET, FUEL PUMP COVER
CAL.& H.A.
CANADA SPEC
CANADA SPEC.
23123SCREW, COVER SET, NO.1
CANADA SPEC.
CAL.& H.A.
23141PACKING, VALVE
23142RETAINER, VALVE
23143SCREW, VALVE RETAINER SET
9017908027
main90179-08027
9211240808
main92112-40808
9411040800
main94110-40800
9451100800
main94511-00800
16 parts on this diagram · 11 diagrams in section