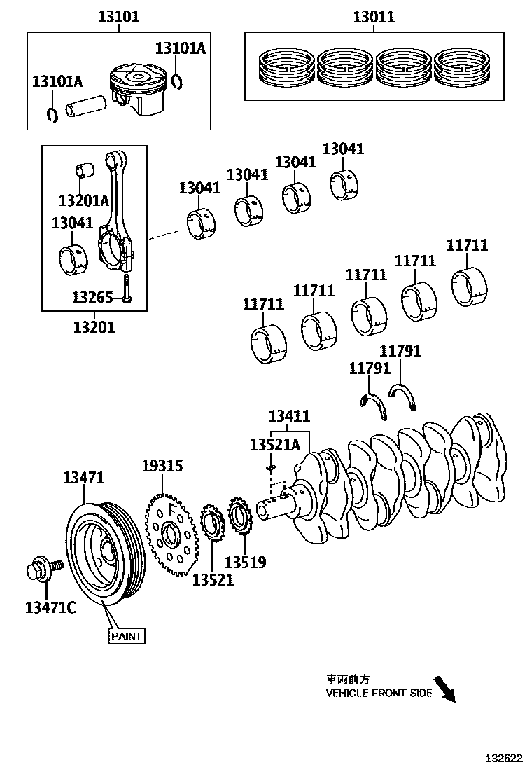
CRANKSHAFT & PISTON

11711BEARING, CRANKSHAFT
MARK1,(J),REFER R/M
MARK2,(J),REFER R/M
MARK3,(J),REFER R/M
MARK4,(J),REFER R/M
MARK1,(J),REFER R/M
MARK2,(J),REFER R/M
MARK3,(J),REFER R/M
MARK4,(J),REFER R/M
11791WASHER, CRANKSHAFT THRUST, UPPER
STD,(L)
STD,(J)
13011RING SET, PISTON
STD,(L)
STD,(J)
13041BEARING, CONNECTING ROD
MARK1,(L),REFER R/M
MARK2,(L),REFER R/M
MARK3,(L),REFER R/M
MARK1,(J),REFER R/M
MARK2,(J),REFER R/M
MARK3,(J),REFER R/M
13101PISTON SUB-ASSY, W/PIN
STD,(J)
13101ARING, HOLE SNAP(FOR PISTON PIN)
13201ROD SUB-ASSY, CONNECTING
(L)
MADE IN EUROPE
(J)
13201ABUSH(FOR CONNECTING ROD SMALL END)
13265BOLT, CONNECTING ROD
sub13265-22040
13411CRANKSHAFT
13471PULLEY, CRANKSHAFT
*119
13471CBOLT(FOR CRANKSHAFT PULLEY SET)
13519GEAR, OIL PUMP DRIVE
13521GEAR OR SPROCKET, CRANKSHAFT TIMING
(L),*251
13521AKEY(FOR CRANKSHAFT TIMING GEAR)
19315PLATE, CRANK ANGLE SENSOR, NO.1
16 parts on this diagram · 1 diagram in section