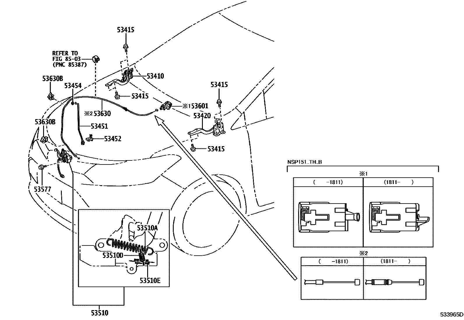
HOOD LOCK & HINGE

53410HINGE ASSY, HOOD, RH
MARK 0
MARK -
MARK 0
MARK +
MARK -
53415BOLT, HOOD HINGE
53420HINGE ASSY, HOOD, LH
MARK 0
MARK +
MARK 0
MARK +
MARK -
53452HOLDER, HOOD STAY
53454CLIP, HOOD SUPPORT ROD
(J)
(L)
53510LOCK ASSY, HOOD
sub53510-0D361
sub53510-0D371
ALGERIA SPEC
MEXICO SPEC
sub53510-0D381
sub53510-0D391
sub53510-0D441
sub53510-0D451
ANTI-THEFT SYSTEM-WITH(IMMOBILIZER)
PARAGUAY SPEC
ECO PACKAGE
LO PACKAGE(*OTM(*ERCDM))
ALGERIA SPEC
MEXICO SPEC
53510ASPRING, TENSION(FOR HOOD LOCK)
WD=1.6,CW=12
53510DSPRING, TENSION(FOR HOOD LOCK)
WD=1.2,CW=8.5
WD=1.2,CW=8.5
53510ESPRING, TENSION(FOR HOOD LOCK)
WD=0.9,CW=21
WD=0.9,CW=21
53577BOLT, HOOD LOCK
53601LEVER SUB-ASSY, HOOD LOCK CONTROL
IVORY,TRIM0#
SHELL,TRIM0#
BLACK,TRIM2#
BLACK,TRIM2#
IVORY,TRIM0#
main53601-0D040-C1iNSP150..CVT..G..A;NSP151..AGT,BZ,MA;NSP150..5F..GCC..R..A;NSP150..CVT..GCC..(D,R)..A;NSP151..(GCC,GEN,PH,TH)..(A,D,H);NSP150,152..(GEN,PH,TH,VN)..(D,R)..(A,D,E)201708-202207
BLACK,TRIM2#
IVORY,TRIM0#
BLACK,TRIM2#
IVORY,TRIM0#
BLACK,TRIM2#
IVORY,TRIM0#
53630CABLE ASSY, HOOD LOCK CONTROL
53630BCLAMP(FOR HOOD LOCK CONTROL CABLE)
(J)
(L)
8503
15 parts on this diagram · 2 diagrams in section