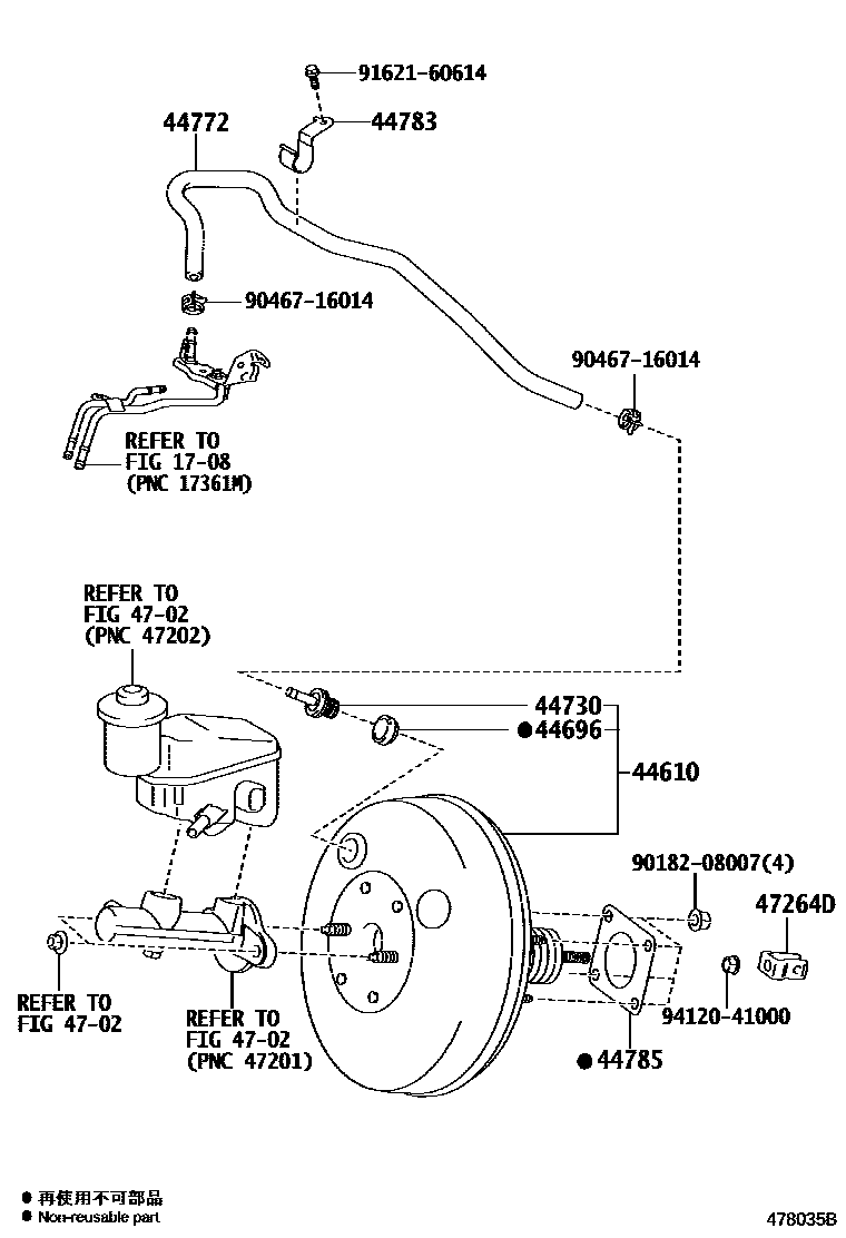
BRAKE BOOSTER & VACUUM TUBE

1708
44610BOOSTER ASSY, BRAKE
44696GROMMET, CHECK VALVE
44730VALVE ASSY, VACUUM CHECK(FOR BRAKE)
44772HOSE, CHECK VALVE TO CONNECTOR TUBE
44783CLAMP, VACUUM HOSE
44785GASKET, BRAKE BOOSTER
4702
47264DCLEVIS, BRAKE MASTER CYLINDER PUSH ROD
9018208007
main90182-08007
9046716014
main90467-16014
9162160614
main91621-60614
9412041000
main94120-41000
13 parts on this diagram · 1 diagram in section