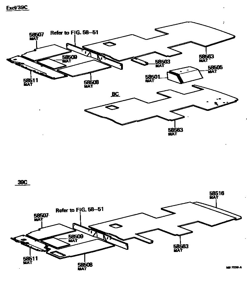
FLOOR MAT & SILENCER PAD

58501MAT, CONDENSER COVER, FRONT
58503MAT ASSY, BATTERY SERVICE HOLE COVER
58505MAT, CONDENSER COVER, CENTER
58507MAT SUB-ASSY, ENGINE UPPER FLOOR, RH
58508MAT SUB-ASSY, ENGINE UPPER FLOOR, LH
58509MAT SUB-ASSY, ENGINE UPPER FLOOR, CENTER
5851FRONT FLOOR PANEL & FRONT FLOOR MEMBER
58511MAT, FLOOR, FRONT
EXHAUST BRAKE
EXHAUST BRAKE
AUTO DOOR
AUTO DOOR,EXHAUST BRAKE
58516MAT, FLOOR, REAR END
58563MAT, REAR FLOOR
10 parts on this diagram · 3 diagrams in section