E
EPC Data
Pricing
API Docs
Sign In
Home
›
JP
›
791130
›
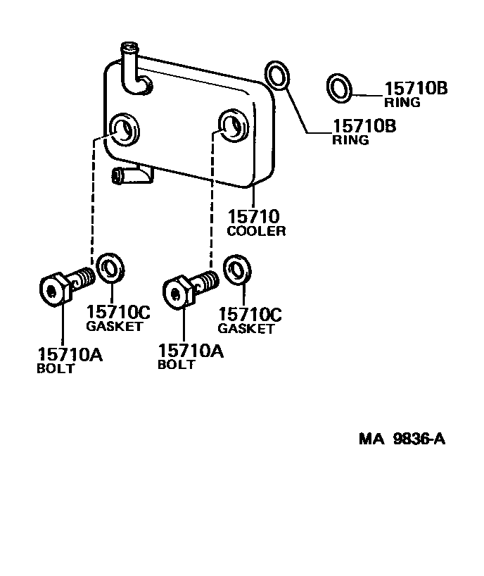
ENGINE OIL COOLER
ENGINE OIL COOLER
0001 1
0002 1
0003 1
15710
COOLER ASSY, OIL
main
15710-61010
i
3FE..FJ62
198808-199001
main
15710-61020
i
3F..FJ62..IV4
198708-199001
main
15710-68010
i
2H..HJ60
198708-199001
main
15710-68020
i
12HT..HJ61
198708-199001
15710A
BOLT, UNION(FOR OIL COOLER)
main
90401-18083
i
3FE..FJ62;3F..FJ62..IV4
198708-199001
15710B
RING, O(FOR OIL COOLER)
main
90301-21176
i
12HT,2H..HJ6#
198708-199001
15710C
GASKET(FOR OIL COOLER)
main
90430-18012
i
3FE..FJ62;3F..FJ62..IV4
198708-199001
4 parts on this diagram · 3 diagrams in section
ENGINE OIL COOLER — Toyota Parts Diagram with OEM Numbers & Prices | EPC Data