HEADLAMP CLEANER

8401
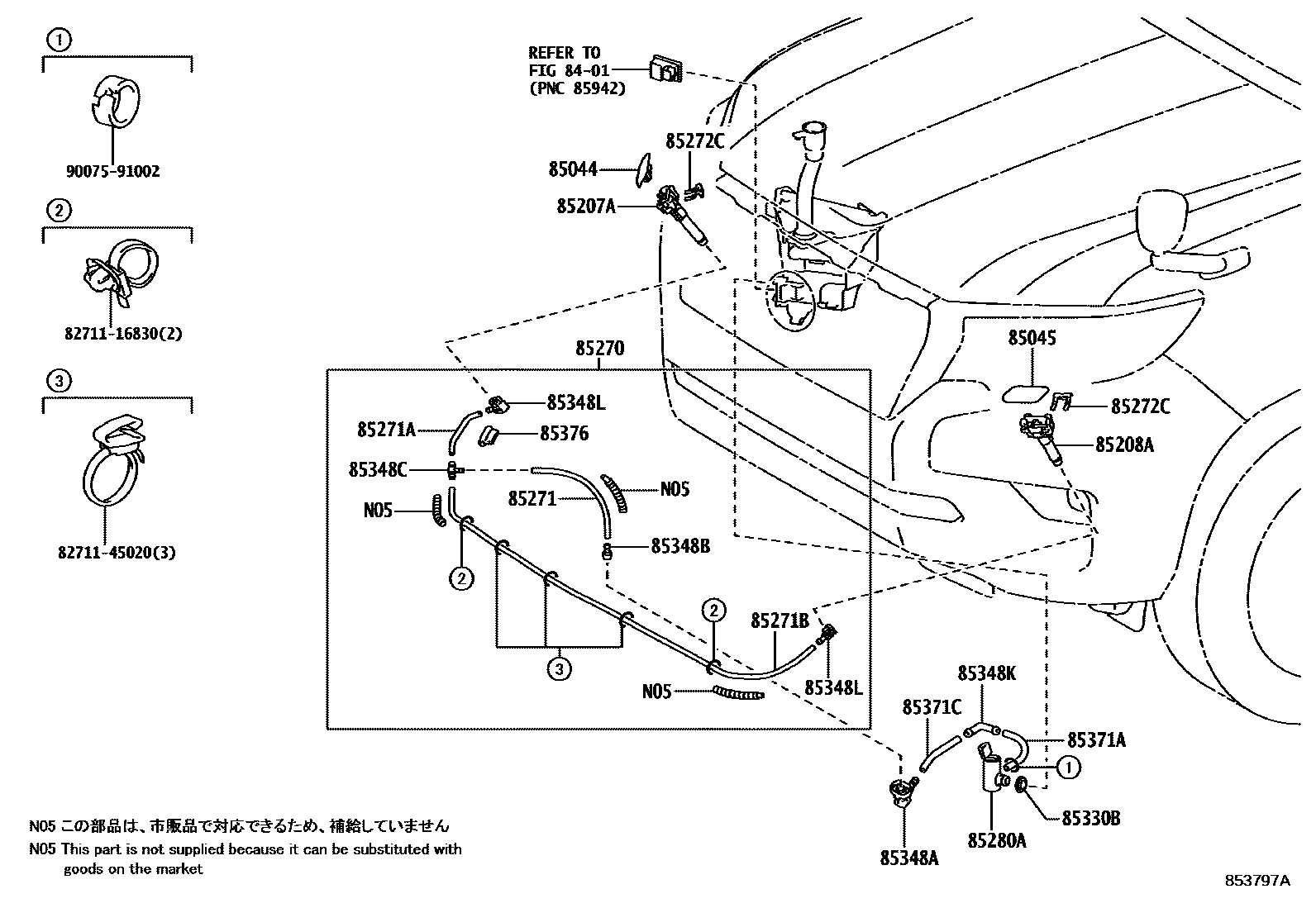
85044NOZZLE SUB-ASSY, TYPE1 H/LAMP WASHER, RH
SUPER WHITE 2,040
WHITE PEARL CS.,070
SILVER ME.,1F7
GRAY ME.,1G3
BLACK,202
ATTITUDE BLACK MC.,218
BLACKISH AGEHA GF.,221
RED M.M.,3R3
AVANT-GARDE BRONZE ME.,4V8
VINTAGE BROWN PEARL CS.,4X4
SUPER WHITE 2,040
WHITE PEARL CS.,070
SILVER ME.,1F7
GRAY ME.,1G3
BLACK,202
ATTITUDE BLACK MC.,218
BLACKISH AGEHA GF.,221
RED M.M.,3R3
AVANT-GARDE BRONZE ME.,4V8
85045NOZZLE SUB-ASSY, TYPE1 H/LAMP WASHER, LH
SUPER WHITE 2,040
WHITE PEARL CS.,070
SILVER ME.,1F7
GRAY ME.,1G3
BLACK,202
ATTITUDE BLACK MC.,218
BLACKISH AGEHA GF.,221
RED M.M.,3R3
AVANT-GARDE BRONZE ME.,4V8
VINTAGE BROWN PEARL CS.,4X4
SUPER WHITE 2,040
WHITE PEARL CS.,070
SILVER ME.,1F7
GRAY ME.,1G3
BLACK,202
ATTITUDE BLACK MC.,218
BLACKISH AGEHA GF.,221
RED M.M.,3R3
AVANT-GARDE BRONZE ME.,4V8
85207AACTUATOR SUB-ASSY, HEADLAMP WASHER, RH
85208AACTUATOR SUB-ASSY, HEADLAMP WASHER, LH
85270CLEANER ASSY, HEADLAMP
85271HOSE, HEADLAMP CLEANER, NO.1
85271AHOSE, HEADLAMP CLEANER, NO.2
85271BHOSE, HEADLAMP CLEANER, NO.3
85272CCLAMP, HEADLAMP CLEANER, NO.3
85280AMOTOR AND PUMP ASSY, HEADLAMP CLEANER
85330BBUSH, HEADLAMP CLEANER WASHER JAR
85348AJOINT, HEADLAMP CLEANER HOSE, NO.1
85348BJOINT, HEADLAMP CLEANER HOSE, NO.2
85348CJOINT, HEADLAMP CLEANER HOSE, NO.3
85348KJOINT, HEADLAMP CLEANER ELBOW, NO.1
85348LJOINT, HEADLAMP CLEANER ELBOW, NO.2
85371AHOSE, HEADLAMP CLEANER(FROM MOTOR TO JOINT)
85371CHOSE, HEADLAMP CLEANER, NO.1
85376PROTECTOR, HEADLAMP CLEANER HOSE, NO.1
8271116830WIRE, FUSE TO FUSE(FOR COMBUSTION HEATER)
main82711-16830
8271145020WIRE, FUSE TO FUSE(FOR COMBUSTION HEATER)
main82711-45020
9007591002
main90075-91002
23 parts on this diagram · 3 diagrams in section