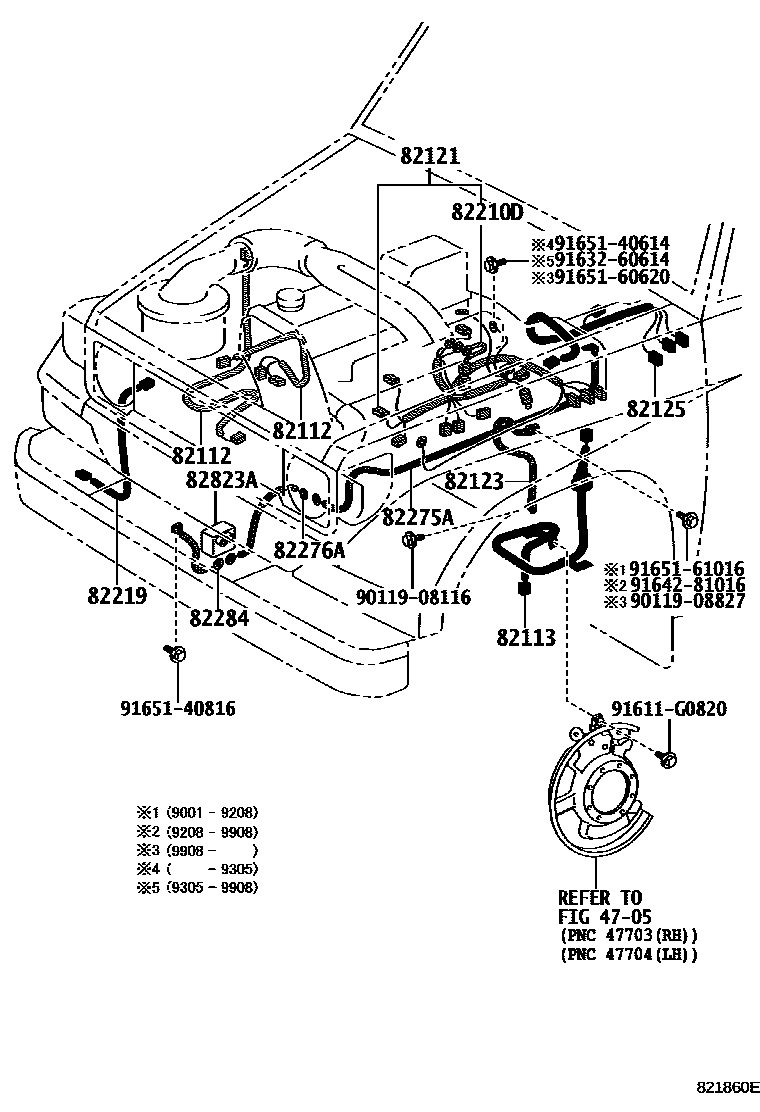
WIRING & CLAMP

4705
82112WIRE, ENGINE ROOM, NO.2
FR DIFF LOCK MOTOR
sub82112-60061
sub82112-60071
LOCKING HUB ACTUATOR
LOCKING HUB ACTUATOR
sub82112-60081
82123WIRE, ENGINE, NO.3
82125WIRE, TRANSMISSION
82210DFUSIBLE LINK
82219WIRE, THERMO SENSOR
82275ACABLE, BATTERY TO MAGNET SWITCH
82276ACABLE, MAGNET SWITCH TO WINCH
82823ACAP, TERMINAL, NO.2
9011908116
main90119-08116
9011908827
main90119-08827
91611G0820
main91611-G0820
9163260614
main91632-60614
9164281016
main91642-81016
9165140614
main91651-40614
9165140816
main91651-40816
9165160620
main91651-60620
9165161016
main91651-61016
21 parts on this diagram · 12 diagrams in section