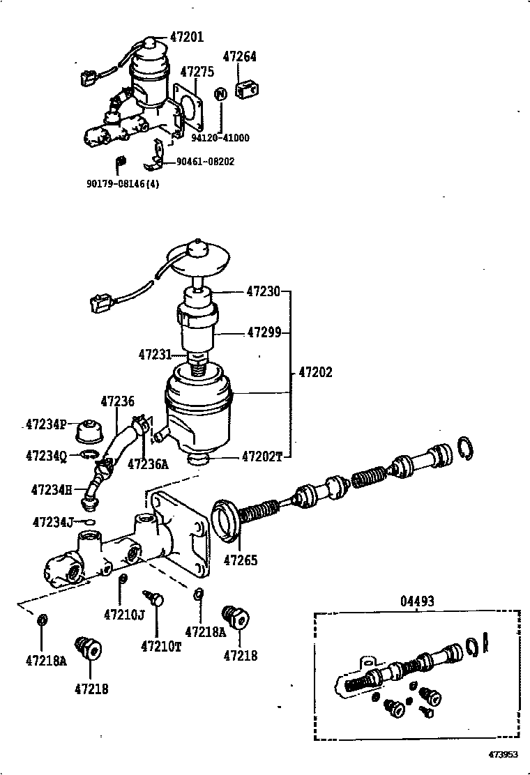
BRAKE MASTER CYLINDER

04493CYLINDER KIT, BRAKE MASTER
47202TRING(FOR BRAKE MASTER CYLINDER RESERVOIR, NO.1)
47210JGASKET(FOR MASTER CYLINDER)
47210TBOLT(FOR BRAKE MASTER CYLINDER)
47218PLUG, MASTER CYLINDER FLUID OUTLET
47218AGASKET(FOR FLUID OUTLET PLUG)
47231BOLT, BRAKE MASTER CYLINDER RESERVOIR SET
47234HELBOW(FOR RESERVOIR TUBE)
47234JRING, O(FOR RESERVOIR TUBE)
47234PBOOT(FOR RESERVOIR TUBE)
47234QRING, SNAP(FOR RESERVOIR TUBE)
47236TUBE, RESERVOIR BRAKE
47236ACLIP(FOR RESERVOIR TUBE)
sub96134-51500
47264CLEVIS, MASTER CYLINDER PUSH ROD
47265BOOT, MASTER CYLINDER
47275GASKET, BRAKE MASTER CYLINDER
47299STRAINER, BRAKE MASTER CYLINDER RESERVOIR
9017908146
main90179-08146
9046108202
main90461-08202
9412041000
main94120-41000
23 parts on this diagram · 4 diagrams in section