E
EPC Data

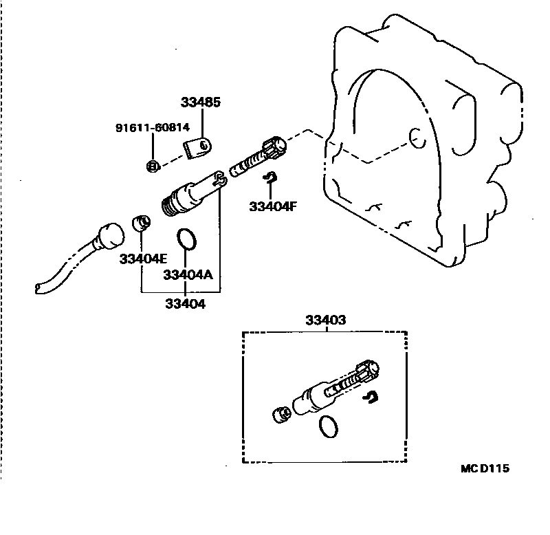
SPEEDOMETER DRIVEN GEAR (MTM)

Parts diagram
33403GEAR SUB-ASSY, SPEEDOMETER DRIVEN (MTM)
main33482-39245i198808-199008
main33482-39255i198601-198805
33404SLEEVE SUB-ASSY, SPEEDOMETER SHAFT (MTM)
main33404-36020i198601-199505
33404ARING, O (FOR MTM SPEEDOMETER SHAFT SLEEVE)
main90301-18018i198601-199505
33404ESEAL, OIL (FOR MTM SPEEDOMETER SHAFT SLEEVE)
main90310-09001i198601-199505
33404FCLIP (FOR MTM SPEEDOMETER SHAFT SLEEVE)
main90468-12005i198601-199505
33485PLATE, SPEEDOMETER SLEEVE LOCK (MTM)
main33485-30020i198601-199505
9161160814

7 parts on this diagram · 1 diagram in section

SPEEDOMETER DRIVEN GEAR (MTM) — Toyota Parts Diagram with OEM Numbers & Prices | EPC Data