RADIATOR & WATER OUTLET

1605
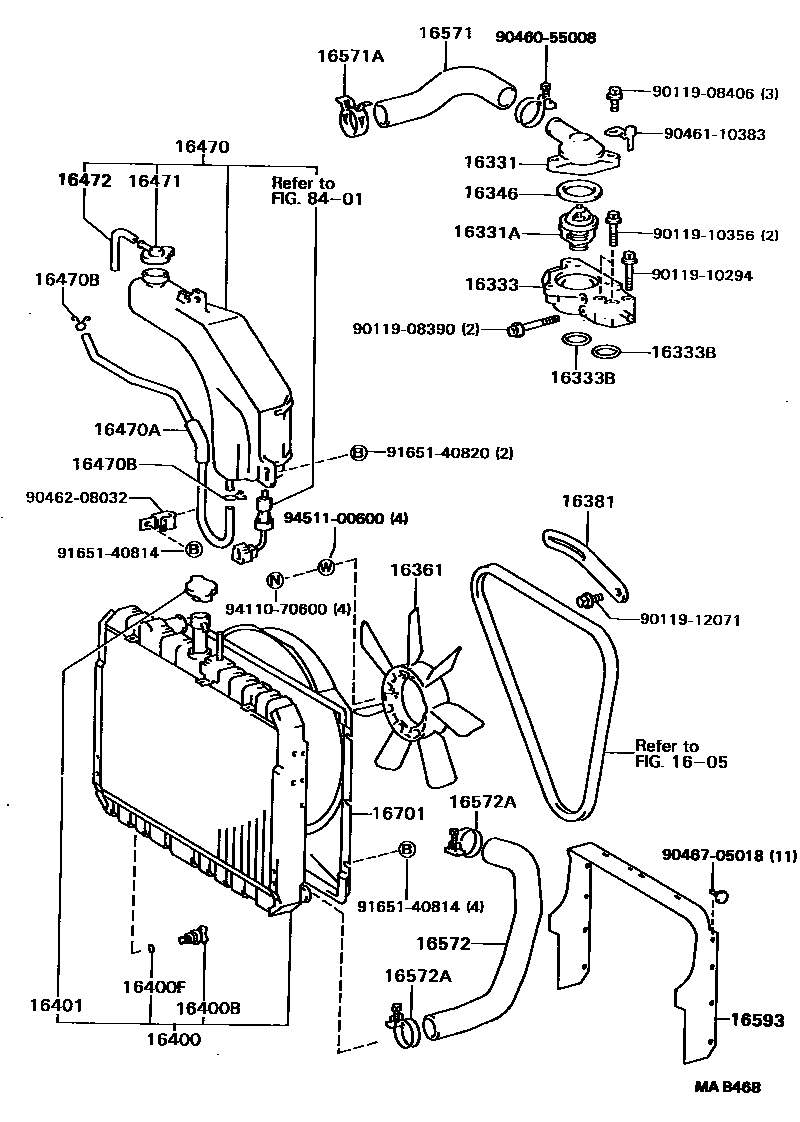
16333HOUSING, WATER OUTLET
subS1630-11120
16333BRING, O(FOR WATER OUTLET HOUSING)
sub90033-01068
16346GASKET, THERMOSTAT
subS1632-51280
16400BPLUG, RADIATOR DRAIN COCK
16400FPACKING(FOR RADIATOR DRAIN COCK)
16401CAP SUB-ASSY, RADIATOR
sub16401-54750
16470TANK ASSY, RADIATOR RESERVE
16470AHOSE OR PIPE(FOR RADIATOR RESERVE TANK)
RADIATOR TO 2WAY
2WAY TO RESERVE TANK
2WAY TO RESERVE TANK
16470BCLAMP OR CLIP(FOR RADIATOR RESERVE TANK HOSE)
16471CAP SUB-ASSY, RESERVE TANK
16472HOSE, BREATHER
16571HOSE, RADIATOR, INLET
16572HOSE, RADIATOR, OUTLET
16593GUIDE, RADIATOR AIR, NO.1
8401
9011908390
main90119-08390
9011908406
main90119-08406
9011910294
main90119-10294
9011910356
main90119-10356
9011912071
main90119-12071
9046055008
main90460-55008
9046110383
main90461-10383
9046208032
main90462-08032
9046705018
main90467-05018
9165140814
main91651-40814
9165140820
main91651-40820
9411070600
main94110-70600
9451100600
main94511-00600
37 parts on this diagram · 2 diagrams in section