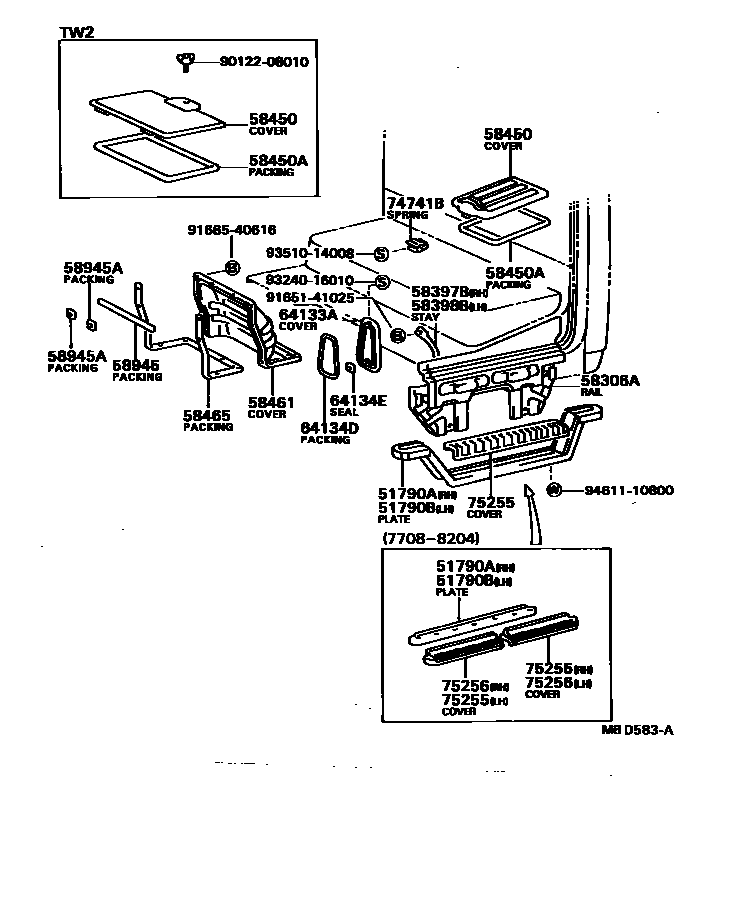
REAR FLOOR PANEL & REAR FLOOR MEMBER

51790STEP ASSY, REAR FLOOR
51790APLATE SUB-ASSY, REAR STEP, RH
58306ARAIL SUB-ASSY, FLOOR SIDE, INNER
RH
LH
58397BSTAY, REAR STEP, RH
58398BSTAY, REAR STEP, LH
58450COVER ASSY, BATTERY SERVICE HOLE
FR
400X235
176X142
58450APACKING, BATTERY SERVICE HOLE COVER
L=1180
176X142
FR
58461COVER, TRANSMISSION SERVICE HOLE
58465PACKING, TRANSMISSION SERVICE HOLE COVER, NO.1
58945PACKING, TRANSMISSION SERVICE HOLE COVER
sub58216-95700
58945APACKING, TRANSMISSION SERVICE HOLE COVER, NO.1
64133ACOVER, HEADER PANEL
64134DPACKING, HEADER PANEL COVER
64134ESEAL, HEADER PANEL COVER
75255COVER, STEP PLATE REAR, NO.1
75256COVER, STEP PLATE REAR, NO.2
9012208010
main90122-08010
9165141025
main91651-41025
9166540616
main91665-40616
9324016010
main93240-16010
9351014008
main93510-14008
9461110800
main94611-10800
24 parts on this diagram · 2 diagrams in section