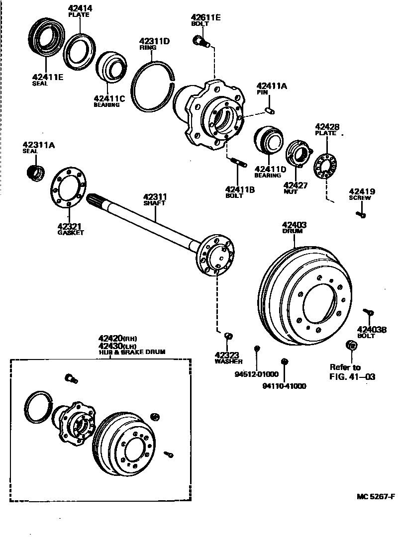
REAR AXLE SHAFT & HUB

4103
42311ASEAL, OIL(FOR REAR AXLE SHAFT)
42311DRING, SNAP(FOR REAR AXLE SHAFT)
42323WASHER, CONE (FOR REAR AXLE SHAFT)
42411HUB, REAR AXLE
42411APIN, STRAIGHT (FOR REAR AXLE HUB)
42411BBOLT, STUD (FOR REAR AXLE HUB)
42411CBEARING, TAPERED ROLLER (FOR REAR AXLE INNER BEARING)
42411DBEARING, TAPERED ROLLER (FOR REAR AXLE OUTER BEARING)
42411ESEAL, OIL (FOR REAR AXLE HUB)
42414PLATE, REAR AXLE HUB
42419SCREW, REAR AXLE BEARING LOCK NUT
42420HUB (OR SHAFT) & BRAKE DRUM REAR AXLE, RH
sub42420-25071
sub42420-36081
sub42420-36130
sub42420-36091
42427NUT, REAR AXLE BEARING LOCK
42428PLATE, REAR AXLE LOCK NUT
42611EBOLT, HUB (FOR REAR AXLE)
RH
LH
RH
LH
RH
LH
RH
LH
9411041000
main94110-41000
9451201000
main94512-01000
23 parts on this diagram · 4 diagrams in section