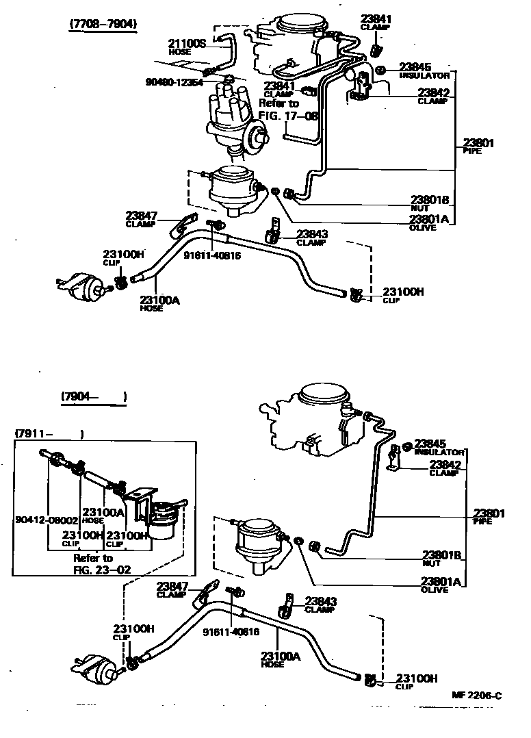
FUEL PIPE & CLAMP

1708
21100SHOSE(FOR CARBURETOR TO MANIFOLD)
2302
23100AHOSE, FUEL
L=690
L=650
L=620
L=580
23801PIPE OR HOSE SUB-ASSY, CARBURETOR FUEL, NO.1
23801AOLIVE(FOR FUEL PIPE)
23801BNUT, UNION(FOR FUEL PIPE)
23841CLAMP, FUEL PIPE(HOSE), NO.1
23842CLAMP, FUEL PIPE(HOSE), NO.2
23843CLAMP, FUEL PIPE(HOSE), NO.3
23845INSULATOR, FUEL PIPE
23847CLAMP, FUEL PIPE(HOSE), NO.4
9041208002
main90412-08002
9048012354
main90480-12354
9161140816
main91611-40816
16 parts on this diagram · 1 diagram in section