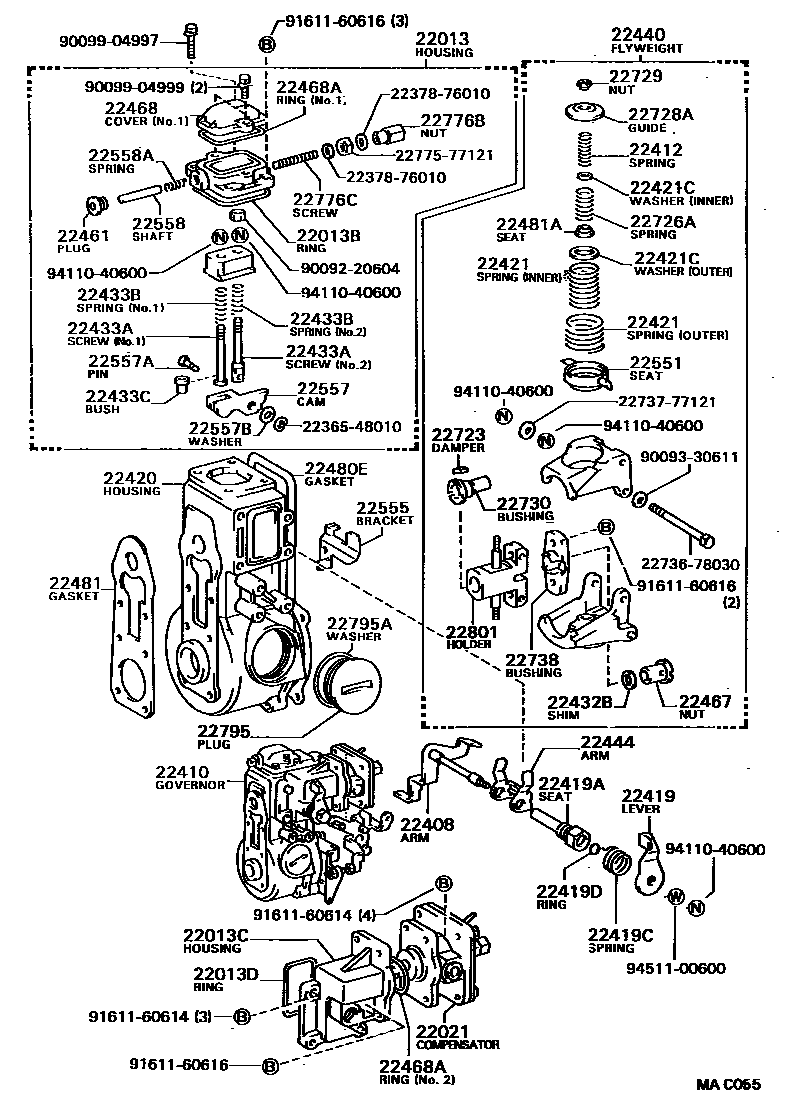
MECHANICAL GOVERNOR

22013HOUSING SUB-ASSY, FULLROAD STOPPER
22013BRING, O(FOR FULLROAD STOPPER HOUSING)
sub22442-78360
22013CHOUSING, FULLROAD STOPPER, NO.2
22013DRING, O(FOR FULLROAD STOPPER HOUSING, NO.2)
22021COMPENSATOR SUB-ASSY, BOOST
22408ARM, STOPPER
22410GOVERNOR ASSY, INJECTION PUMP MECHANICAL
22412SPRING, MECHANICAL GOVERNOR
22419LEVER, STOP
22419ASEAT, RETURN SPRING(FOR STOPPER ARM)
22419CSPRING, RETURN(FOR STOPPER LEVER)
22419DRING, O(FOR STOPPER LEVER)
22420HOUSING SUB-ASSY, MECHANICAL GOVERNOR
22421SPRING, IDLING
22421CWASHER, IDLING SPRING
subS2287-71270
subS2287-71280
subS2287-71290
subS2287-71300
subS2287-71400
subS2287-71410
22432BSHIM
22433ASCREW, ADAPTER(FOR SLIDING BLOCK)
22433BSPRING(FOR ADAPTER SCREW)
22433CBUSH(FOR ADAPTER SCREW)
22440FLYWEIGHT SUB-ASSY
22444ARM
22461PLUG, SCREW
STOPPER HOUSING
GOVERNER COVER
22467NUT, ROUND
22468COVER, PLATE
22480EGASKET, GOVERNOR COVER
22481GASKET
22481ASEAT, SPRING, INNER
22551SEAT, SPRING(FOR FLYWEIGHT)
22555BRACKET, STOPPER
22557CAM, FULL STOP
22557APIN, CONNECTING(FOR FULL STOP CAM)
22557BWASHER, PLATE(FOR CONNECTING PIN)
22558SHAFT, SLIDING BLOCK
22558ASPRING(FOR SLIDING BLOCK SHAFT)
22723DAMPER, FLYWEIGHT HOLDER
22726ASPRING, SPEED CONTROL
22728AGUIDE, SPRING
sub22728-78031
22729NUT, ADJUSTING(FOR FLYWEIGHT)
22730BUSHING ASSY, CAMSHAFT
22738BUSHING, GUIDE(FOR FLYWEIGHT)
22776BNUT, CAP(FOR SCREW STOPPER)
22776CSCREW, STOPPER
22795PLUG, SCREW
22795AWASHER, SCREW PLUG
22801HOLDER SUB-ASSY, FLYWEIGHT
2236548010RING, E(FOR INJECTION PUMP LEVER)
main22365-48010
2237876010WASHER, DRAIN SCREW
main22378-76010
2273678030BOLT, BELLCRANK
main22736-78030
2273777121
main22737-77121
2277577121NUT, LOCK(FOR INJECTION PUMP)
main22775-77121
9009220604
main90092-20604
9009330611
main90093-30611
9009904997
main90099-04997
9009904999
main90099-04999
9161160614
main91611-60614
9161160616
main91611-60616
9411040600
main94110-40600
9451100600
main94511-00600
59 parts on this diagram · 2 diagrams in section