E
EPC Data

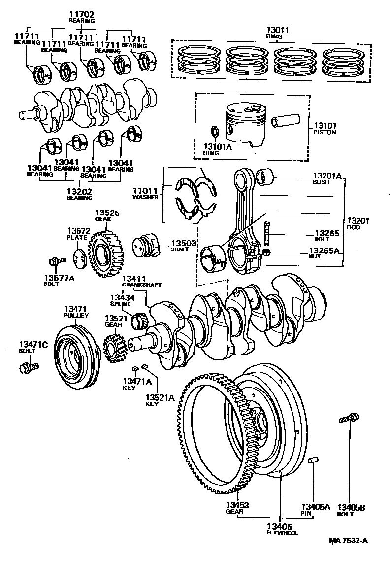
CRANKSHAFT & PISTON

Parts diagram
11011WASHER SET, CRANKSHAFT THRUST
main11011-56010i198409-198506
main11011-56020i198506-198708
main11012-56010i198409-198506
main11012-56020i198506-198708
main11013-56010i198409-198506
main11013-56020i198506-198708
11702BEARING SET, CRANKSHAFT
main11704-56020i198409-198708
main11705-56020i198409-198708
main11707-56020i198409-198708
11711BEARING, CRANKSHAFT
main11701-56010-01×5i198409-198708
MARK"1",MARK 1
main11701-56010-02×5i198409-198708
MARK"2",MARK 2
13011RING SET, PISTON
main13011-56021i198409-198605
main13011-56022i198605-198708
main13011-56030i198501-198708
main13011-58030i198409-198708
main13011-58040i198409-198708
13041BEARING, CONNECTING ROD
main13041-56010-01×4i198409-198708
MARK"1",MARK 1
main13041-56010-02×4i198409-198708
MARK"2",MARK 2
main13041-58010-01×4i198409-198708
MARK"1",MARK 1
main13041-58010-02×4i198409-198708
MARK"2",MARK 2
13101PISTON SUB-ASSY, W/PIN
main13101-56031×4i198409-198605
main13101-56032×4i198605-198708
main13101-56041×4i198501-198708
main13101-58020×4i198409-198708
main13101-58030×4i198409-198708
13101ARING, HOLE SNAP(FOR PISTON PIN)
main90521-31001×8i198409-198708
main90521-37007×8i198409-198708
13201ROD SUB-ASSY, CONNECTING
main13201-59045×4i198409-198708
main13201-59055×4i198409-198708
main13201-59065×4i198409-198708
13201ABUSH(FOR CONNECTING ROD SMALL END)
main90999-73065×4i198409-198708
main90999-73099×4i198409-198708
main90999-73100×4i198409-198708
13202BEARING SET, CONNECTING ROD
main13204-56011i198409-198708
main13204-58011i198409-198708
main13205-56011i198409-198708
main13205-58011i198409-198708
main13207-56011i198409-198708
main13207-58011i198409-198708
13265BOLT, CONNECTING ROD
main13265-58010×8i198409-198708
main13265-59015×8i198409-198708
13265ANUT, HEXAGON(FOR CONNECTING ROD BOLT)
main90179-11006×8i198409-198708
main90179-12044×8i198409-198708
13405FLYWHEEL SUB-ASSY
main13405-56031i198409-198708
main13405-56032i198705-198708
main13405-58010i198409-198705
13405APIN, STRAIGHT(FOR FLYWHEEL)
main90250-10192×3i198409-198708
13405BBOLT, FLYWHEEL SETTING
main90105-13004×6i198409-198708
*13-1.5PX30-20
main90913-01015×6i198705-198708
13411CRANKSHAFT
main13401-56020i198409-198708
main13401-58020i198409-198708
13434SPLINE, OIL PUMP DRIVE
main13519-56010i198409-198708
13453GEAR, FLYWHEEL RING
main13453-56020i198409-198708
N=110
13471PULLEY, CRANKSHAFT
main13470-56150i198409-198708
main13470-56160i198409-198708
main13470-56170i198409-198708
13471AKEY, CRANKSHAFT(FOR CRANKSHAFT PULLEY SET)
main95161-10416i198409-198708
13471CBOLT(FOR CRANKSHAFT PULLEY SET)
main90105-16003i198409-198708
13503SHAFT SUB-ASSY, IDLE GEAR
main13504-56030i198409-198708
main13581-56060i198409-198708
13521GEAR OR SPROCKET, CRANKSHAFT TIMING
main13521-56030i198409-198708
13521AKEY(FOR CRANKSHAFT TIMING GEAR)
main95161-10519i198409-198708
13525GEAR, IDLE, NO.1
main13508-56010i198409-198708
13572PLATE, IDLE GEAR THRUST
main13572-56020i198409-198708
13577ABOLT, HEXAGON(FOR IDLE GEAR BOLT LOCK)
main90105-10194×2i198606-198708
main90119-10208×2i198409-198606

27 parts on this diagram · 2 diagrams in section

CRANKSHAFT & PISTON — Toyota Parts Diagram with OEM Numbers & Prices | EPC Data