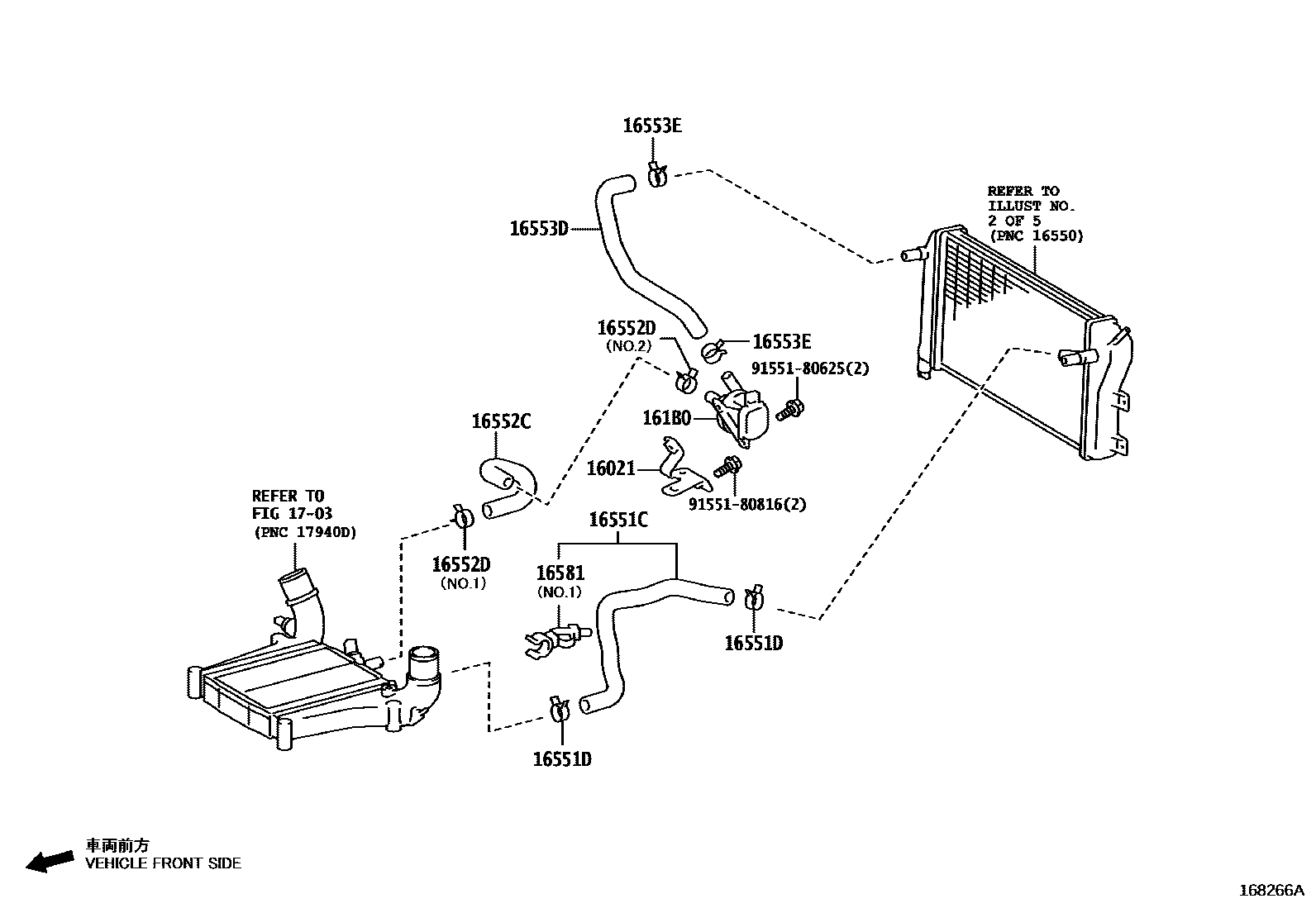
RADIATOR & WATER OUTLET

16021BRACKET SUB-ASSY, WATER PUMP
161B0PUMP ASSY, ELECTRIC WATER
16551CHOSE, INTERCOOLER COOLING WATER, NO.1
16551DCLAMP OR CLIP(FOR INTERCOOLER COOLING WATER HOSE NO.1)
16552CHOSE, INTERCOOLER COOLING WATER, NO.2
16552DCLAMP OR CLIP(FOR INTERCOOLER COOLING WATER HOSE NO.2)
16553DHOSE, INTERCOOLER COOLING WATER, NO.3
16553ECLAMP OR CLIP(FOR INTERCOOLER COOLING WATER HOSE NO.3)
16581CLAMP, HOSE(FOR WATER HOSE)
1703
9155180625
main91551-80625
9155180816
main91551-80816
12 parts on this diagram · 8 diagrams in section