E
EPC Data
Pricing
API Docs
Sign In
Home
›
JP
›
731150
›
REAR BODY MOUNTING
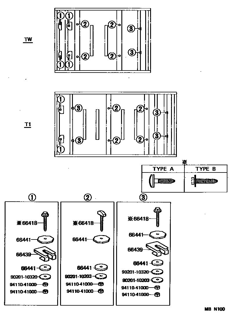
REAR BODY MOUNTING
0001 1
0002 1
0003 1
0004 1
0005 1
66418
BOLT, MOUNTING
main
66418-95400
i
LY50,6#,YY5#,61..(T1,TW)..TS..CBU
198708-199505
main
66461-92200
i
LY5#,6#,YY52,61..T3..TB..CBU
198708-199505
main
66462-92200
i
LY5#,6#,YY52,61..T3..TB..CBU
198708-199505
CTR
main
66463-92200
i
LY5#,6#,YY52,61..T3..TB..CBU
198708-199505
main
90119-10490
i
LY50,YY5#..T1
198708-199505
main
90119-10490
i
LY50,61,YY5#,61..T3..TS..CBU
198808-199505
66439
SHIM, SUPPORT
main
66439-95400
i
LY50,6#,YY5#,61..(T3,TW)..TS..ST..CBU
198708-199505
66441
SHIM, MOUNTING, NO.1
main
66441-90301
i
LY61,YY61..TB..125..CBU
199207-199505
sub
90564-15142
main
66441-92220
i
LY6#,YY61..TB..125..CBU
198708-199207
sub
90564-15142
main
66441-95A01
i
LY50,6#,YY5#,61..TW1..CBU
198708-199310
main
90564-12013
i
LY50,6#,YY5#,61..TW1..CBU
198708-199505
main
90564-15142
i
LY50,61,YY52,61..TW1..CBU
199310-199505
9020110203
main
90201-10203
9020110320
main
90201-10320
9411041000
main
94110-41000
6 parts on this diagram · 5 diagrams in section
REAR BODY MOUNTING — Toyota Parts Diagram with OEM Numbers & Prices | EPC Data