E
EPC Data

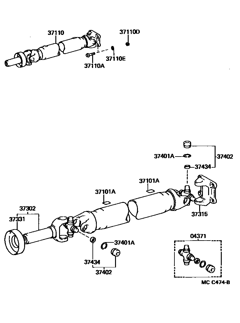
PROPELLER SHAFT & UNIVERSAL JOINT

Parts diagram
04371SPIDER KIT, UNIVERSAL JOINT(FOR PROPELLER SHAFT)
main04371-25010i198708-199505
main04371-30021i198808-199505
main04371-35030i198708-198802
main04371-35031i198802-199505
main04371-36030i198708-198808
37101APIECE, BALANCE, NO.1 (FOR PROPELLER SHAFT)
main90937-01132i198708-199505
main90937-01147i198708-199505
main90937-01148i198708-199505
main90937-01149i198708-199505
main90937-01150i198708-199505
main90937-01151i198708-199505
main90937-01152i198708-199505
main90937-01184i198708-199505
main90937-01191i198708-199505
main90937-01192i198708-199505
main90937-01193i198708-199505
main90937-01194i198708-199505
37110SHAFT ASSY, PROPELLER
main37110-25320i198708-199505
main37110-25330i198708-199505
main37110-25340i198708-198808
main37110-25350i198708-198808
main37110-25360i198708-199505
main37110-25370i198708-198808
main37110-25380i198808-199505
main37110-25390i198808-199505
main37110-25400i198808-199505
main37110-25410i198808-199505
main37110-26170i198808-199505
main37110-26290i198708-199505
main37110-26600i199406-199505
main37110-35390i198808-198908
main37110-35391i198908-199505
37110ABOLT (FOR PROPELLER SHAFT)
main90105-10085i198708-199505
main90105-11013i198708-199505
37110DNUT (FOR PROPELLER SHAFT)
main90179-10059i198708-199505
main90179-11005i198708-199505
37110EWASHER (FOR PROPELLER SHAFT)
main90201-11013i198708-199505
main90204-10002i198708-199505
37302YOKE SUB-ASSY, UNIVERSAL JOINT SLEEVE
main37302-35010i198708-199505
main37302-35030i198808-199505
main37302-35050i198708-199505
main37302-36020i198708-198808
37315YOKE, UNIVERSAL JOINT FLANGE
main37315-35040i198708-199505
main37315-35050i198708-199505
main37315-35060i198808-199505
main37315-36020i198708-198808
37331COVER, SLIDING SHAFT DUST
main37305-35020i198708-199505
main37305-36020i198708-198808
main37331-30010i198708-199505
37401ARING, HOLE SNAP (FOR SPIDER BEARING)
main90520-26038i198712-199505
main90520-26040i198712-199505
main90520-26041i198712-199505
main90520-26042i198712-199505
main90520-26043i198712-199505
main90520-26044i198712-199505
main90520-26045i198712-199505
main90520-26046i198712-199505
main90520-26233i198708-198712
main90520-26234i198708-198712
main90520-26235i198708-198712
main90520-29024i198708-198808
main90520-29025i198708-198808
main90520-29026i198708-198808
main90520-29027i198708-198808
main90521-29070i198708-199505
main90521-29071i198708-199505
main90521-29072i198708-199505
37402BEARING SUB-ASSY, UNIVERSAL JOINT SPIDER
main37402-25010i198708-199505
main37402-25020i198708-199505
RED PAINTED
main37402-30010i198708-198712
main37402-30011i198712-199505
main37402-30020i198708-198712
RED PAINTED
main37402-30021i198712-199505
RED PAINTED
main37402-36080i198708-198808
37434SEAL, UNIVERSAL JOINT SPIDER BEARING
main37434-25010i198708-199505

12 parts on this diagram · 3 diagrams in section

PROPELLER SHAFT & UNIVERSAL JOINT — Toyota Parts Diagram with OEM Numbers & Prices | EPC Data