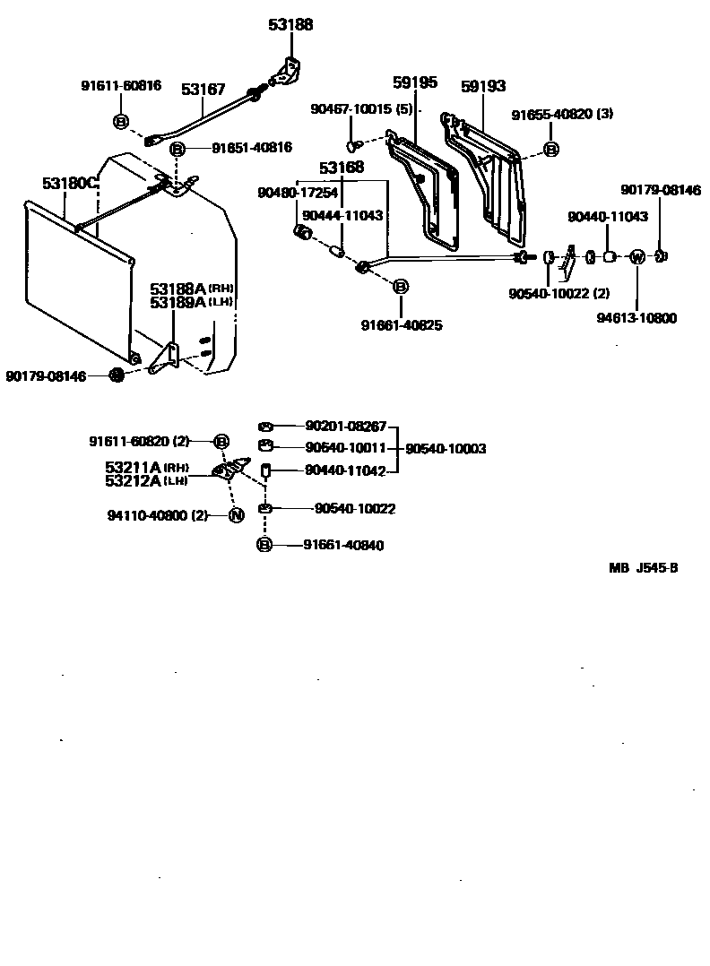
RADIATOR SUPPORT & WIND GUIDE

53167ROD, RADIATOR BRACE, RH
53168ROD, RADIATOR BRACE, LH
sub53018-25011
53180CSHUTTER ASSY, RADIATOR
sub53180-95013
53188BRACKET, RADIATOR BRACE ROD, RH
53188ABRACKET, RADIATOR SHUTTER SUPPORT, RH
53189ABRACKET, RADIATOR SHUTTER SUPPORT, LH
53211ABRACKET, RADIATOR SUPPORT, RH
53212ABRACKET, RADIATOR SUPPORT, LH
59193GUARD, NOISE SHUTTER
sub59193-25010
59195INSULATOR, NOISE SHUTTER
sub59195-25030
9017908146
main90179-08146
9020108267
main90201-08267
9044011042
main90440-11042
9044011043
main90440-11043
9044411043
main90444-11043
9046710015
main90467-10015
9048017254
main90480-17254
9054010003
main90540-10003
9054010011
main90540-10011
9054010022
main90540-10022
9161160816
main91611-60816
9161160820
main91611-60820
9165140816
main91651-40816
9165540820
main91655-40820
9166140825
main91661-40825
9166140840
main91661-40840
9411040800
main94110-40800
9461310800
main94613-10800
28 parts on this diagram · 1 diagram in section